Качественные детали и логистика
Оригинальные и аналоговые запчасти с доставкой по России, Казахстану и Беларуси
©2022 PartSell ООО "Система" ИНН 2463123282 ОГРН 1212400004838
Центральный офис: г. Красноярск, Академика Киренского, д.87, пом.4
Телефон: 8 (800) 777-65-74 Email: zakaz@partsell.ru
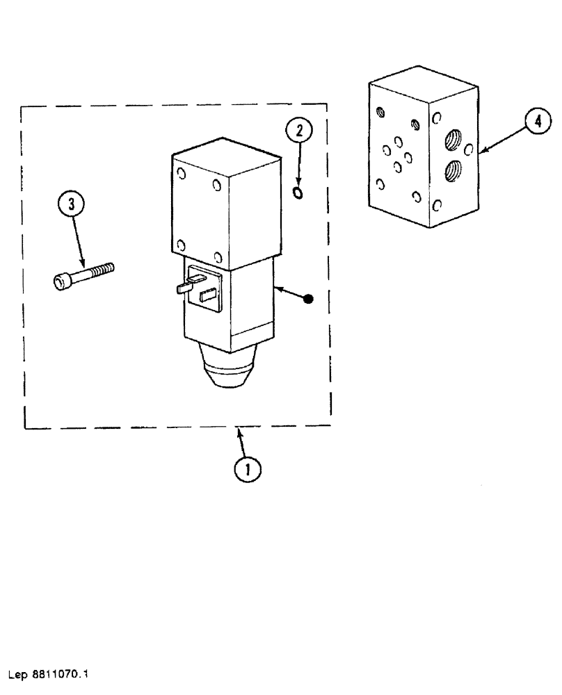
(68) - ELECTRICALLY-CONTROLLED SELECTOR
№
Артикул
Название
Примечание
Количество
1
F3743393
SHIN
1шт.
2
Z1230430
O-RING
4шт.
3
864-5030
HEX SOC SCREW,M5 x 30mm, Cl 8.8
F332907
SCREW,Hex Skt Hd, M5 x 50mm
4
K3923372
Выбрано товаров: 0