Запчасти Case 688B (24) - BRAKE PRESSURE LIMITER (07) - HYDRAULIC SYSTEM

Схема запчастей Case 688B - (24) - BRAKE PRESSURE LIMITER (07) - HYDRAULIC SYSTEM
16
18
21
20
1
12
12
3
2
11
5
9
22
11
11
4
10
17
10
13
8
6
15
23
14
13
7
19
FIT
1:1
100%

Артикул

Название

Примечание

Количество

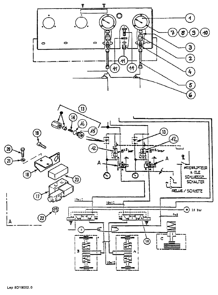
1

G944432

PRESSURE GAUGE

2шт.

2

W344422

FITTING

2шт.

3

PR30306

O-RING,0.07" Thk x 0.301" ID, -11, Cl 6, 90 Duro

2шт.

4

E4037516

MAKING-UP

2шт.

5

D5144482

PIPE, EXHAUST SYSTEM

PIPE, EXHAUST

2шт.

6

U1237211

UNION

2шт.

7

M34603

WASHER

12шт.

8

V34703

WASHER

6шт.

9

825-1404

NUT,M4, Cl 8

6шт.

10

X833886

SCREW

M4 x 20 x 20

6шт.

11

REF

INSTRUCTION

SCREW, See Page : 72

1шт.

12

U4043372

VALVE

2шт.

13

E2043301

BLOCK ASSY.

2шт.

14

U1638147

COMPRESSION SPRING

1шт.

15

L1637426

PLUG

1шт.

16

D130482

O-RING

1шт.

17

REF

INSTRUCTION

BLOCK, See Page : 68

2шт.

18

M7428298

SUPPORT

2шт.

19

H32920

SCREW

M8 x 16

4шт.

20

120106

BOLT,M8 x 1.25 x 45.45mm, Cl 8.8

4шт.

21

M4328795

WASHER

8.25 x 6 x 15

8шт.

22

A134596

SAFETY NUT

MS

4шт.

23

W3343668

LARGE PLATE

PLATE, LARGE

2шт.

Выбрано товаров: 0