Запчасти Case 1085B (7-002) - BRAKE SYSTEM, AIR COMPRESSOR TO RESERVOIR AND ACTUATORS (07) - BRAKES

Схема запчастей Case 1085B - (7-002) - BRAKE SYSTEM, AIR COMPRESSOR TO RESERVOIR AND ACTUATORS (07) - BRAKES
FIT
1:1
100%

Артикул

Название

Примечание

Количество

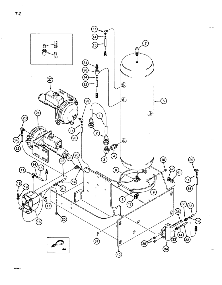
1

S241764

HOSE - stainless steel braid cover, 26 inch (660 mm) long, cut from S118406 bulk hose, see below

1шт.

2

S96768

FITTING

ADAPTER - straight, swivel, use with Ref. 1 hose

2шт.

3

222-777

ELBOW,90 Degree, 7/8"-18, 45 Degree Fl x 1/2" NPT

- 90 degree, 7/8-14 45 degree flare x 1/2 inch PT

1шт.

4

G45437

LOCK VALVE

VALVE ASSEMBLY - check, air, parts list Fig. 7-040

1шт.

5

S617271

RESERVOIR

- air

1шт.

6

S119002

VALVE, CHECK

PLUG - drain, air reservoir

1шт.

7

S106934

VALVE

ASSEMBLY - relief, air reservoir, parts list Fig. 7-038

1шт.

8

S517018

BRACKET

CLAMP - air reservoir

2шт.

9

413-620

BOLT,Hex, 3/8" - 16 x 1-1/4", Gr 5

- hex, 3/8 NC x 1-1/4 inch

4шт.

10

131-52

NUT,3/8"-16, GC

NUT - light hex, self-locking, 3/8 inch NC

4шт.

11

222-1850

CONNECTOR, ELEC

ELBOW - 90 degree, compression, 3/8 tube OD x 1/2 inch PT, Includes: Ref. 12 and 13

2шт.

12

222-1860

SLEEVE,3/8" Tube, Comp

- spherical, 3/8 inch tube OD

1шт.

13

222-1865

NUT,17/32"-24, Sph Sleeve

NUT - hex, 3/8 tube OD x 17/32-24 inch

1шт.

14

222-2446

INSERT,1/4" Tube

SLEEVE - spherical, 3/8 inch tube OD, used in nylon tubes at all compression fittings

10шт.

15

S119499

PLASTIC-RUBBER TUBE,0.375" OD x 45" L

TUBE - nylon, 45 inch (1143 mm) long, cut from S118405 bulk roll, see below, reservoir to brake relay valve

1шт.

16

S515760

VALVE, BRAKE

VALVE ASSEMBLY - brake relay, parts list Fig. 7-030

1шт.

17

221-663

PLUG,Hex Hd, 3/8"-18

- hex, 3/8 inch PT

2шт.

18

413-616

BOLT,Hex, 3/8" - 16 x 1", Gr 5

- hex, 3/8 NC x 1 inch

2шт.

19

495-21044

WASHER,3/8"

(flat, 7/16 x 1 x 5/64 inch) 3/8"

2шт.

20

131-52

NUT,3/8"-16, GC

NUT - light hex, self-locking, 3/8 inch NC

2шт.

21

222-1843

FITTING,17/32"-24 x 3/8" NPT

ADAPTER - compression, 3/8 tube OD x 3/8 inch PT, includes sleeve and nut, Ref. 12 and 13

1шт.

22

S119892

TUBE - nylon, 8 inch (203 mm) long, cut from S118405 bulk roll, see below, relay valve to front brake actuator

1шт.

23

222-1849

ELBOW,90 Degree, 17/32"-24 x 3/8" NPT, Comp

- 90 degree, compression, 3/8 tube OD x 3/8 inch PT, includes sleeve and nut, Ref. 12 and 13

2шт.

24

S618958

ACTUATOR

ASSEMBLY - front wheel brake, parts list Fig. 7-044

1шт.

25

222-1849

ELBOW,90 Degree, 17/32"-24 x 3/8" NPT, Comp

- 90 degree, compression, 3/8 tube OD x 3/8 inch PT, includes sleeve and nut, Ref. 12 and 13

1шт.

26

S119497

PLASTIC-RUBBER TUBE,0.375" OD x 26" L

TUBE - nylon, 26 inch (660 mm) long, cut from S118405 bulk roll, see below, relay valve to rear brake actuator

1шт.

27

S618958

ACTUATOR

ASSEMBLY - rear wheel brake, parts list Fig. 7-044

1шт.

S118405

HOSE,600.00", SAE J844

600.00", SAE J844

1шт.

S118406

HOSE,0.51" ID x 300.00"

- Bulk roll, with stainless steel braid cover 0.51" ID x 300.00"

1шт.

28

S119478

FITTING

TEE - special, compression fitting, includes sleeve and nut, Includes: Ref. 29 and 30

1шт.

29

222-1860

SLEEVE,3/8" Tube, Comp

- spherical, 3/8 inch tube OD

1шт.

30

222-1865

NUT,17/32"-24, Sph Sleeve

NUT - hex, 3/8 tube OD x 17/32-24 inch

1шт.

31

S94540

VALVE

STEM - valve, air

1шт.

32

S119496

PLASTIC-RUBBER TUBE,0.375" OD x 23" L

TUBE - nylon, 23 inch (584 mm) long, cut from S118405 bulk roll, see below, air reservoir to governor

1шт.

33

222-1839

FITTING,17/32"-24 x 1/8" NPT

ADAPTER - compression, 3/8 tube OD x 1/8 inch PT, includes sleeve and nut, Ref. 29 and 30

2шт.

34

D72831

GOVERNOR

ASSEMBLY - remote, air control, parts list Fig. 7-020

1шт.

35

221-849

PLUG,Hex Soc, 1/8"-27

- hex socket, 1/8 inch PT

2шт.

36

413-548

BOLT,Hex, 5/16" - 18 x 3", Gr 5

- hex, 5/16 NC x 3 inch

2шт.

37

131-176

LOCK NUT,Prev Torque, Hex, 5/16" - 18, Gr A

NUT - hex, self-locking, 5/16 inch NC

2шт.

38

S119500

TUBE - nylon, 126 inch (3200 mm) long, cut from S118405 bulk roll, see below, governor to air compressor

1шт.

39

222-1847

ELBOW,90 Degree, 17/32"-24 x 1/8" NPT, Comp

- 90 degree, compression, 3/8 tube OD x 1/8 inch PT, includes sleeve and nut,Ref. 29 and 30

1шт.

40

S617422

SUPPORT

- air reservoir and air brake parts

1шт.

41

95-8

WASHER,1/2"

flat 1/2"

4шт.

42

131-70

NUT,1/2"-13, GB

NUT - light hex, self-locking, 1/2 inch NC

4шт.

43

R14668

CLAMP

- air tubes, attaches to reservoir mounting clamp

1шт.

44

L18337

CABLE TIE,9.95"-12.1" lg

STRAP - tie, 15 inch, nylon

1шт.

S118405

HOSE,600.00", SAE J844

600.00", SAE J844

1шт.

Выбрано товаров: 0