Запчасти Case 1085B (8-056) - HYDRAULIC OIL FILTER (08) - HYDRAULICS

Схема запчастей Case 1085B - (8-056) - HYDRAULIC OIL FILTER (08) - HYDRAULICS
FIT
1:1
100%

Артикул

Название

Примечание

Количество

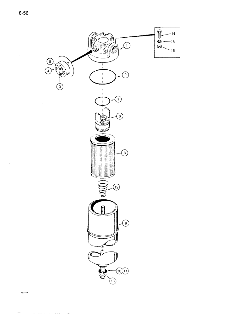
S616065

FILTER ASSEMBLY - hydraulic oil, order components, Includes: Ref. 1 - 17

2шт.

S239990

HEAD ASSY.

HEAD ASSEMBLY - filter, Includes: Ref. 1 - 5

1шт.

1

NSS

NOT SOLD SEPARAT

HEAD - filter

1шт.

2

S107789

O-RING

- head

1шт.

S104920

BRACKET

INDICATOR ASSEMBLY - filter, Includes: Ref. 3 - 5

1шт.

3

NSS

NOT SOLD SEPARAT

INDICATOR - filter, Includes: Ref. 4 and 5

1шт.

4

182-507

SCREW,Sl Pan Hd, #8 - 32 x 5/16", Brass

- machine, pan head slotted, No. 8 NC x 5/16 inch

2шт.

5

187-1110

SCREW,Cross Pan Hd, #8 x 5/8"

- self-tapping, pan head Phillips, No. 8 NC x 5/8 inch

2шт.

6

S107803

VALVE

- bypass, Includes: Ref. 7

1шт.

7

S107967

O-RING,2.109" ID x 0.139" Width

- valve, small

1шт.

8

S107791

FILTER

ELEMENT - filter

1шт.

9

S116429

HOUSING

- filter

1шт.

S107793

SEALING WASHER

WASHER ASSEMBLY - gasket, Includes: Ref. 10 and 11

1шт.

10

NSS

NOT SOLD SEPARAT

WASHER - special

1шт.

11

A42597

O-RING,0.734" ID x 1.012" OD x 0.139"

- gasket

1шт.

12

S104930

SPRING

- tension

1шт.

13

S107794

BOLT

- tie

1шт.

14

413-616

BOLT,Hex, 3/8" - 16 x 1", Gr 5

- hex, 3/8 NC x 1 inch

4шт.

15

492-11038

LOCK WASHER,3/8"

4шт.

16

495-11041

WASHER,0.406" ID x 0.812" OD x 0.065" W

(Flat, 13/32 x 13/16 x 1/16") 3/8", SAE

4шт.

17

S108971

ELEMENT

- use to flush hydraulic system, not shown

1шт.

Выбрано товаров: 21