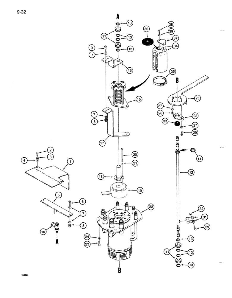
Запчасти Case 1085B (9-032) - CENTER SWIVEL PARTS, UNITS WITH MALE TUBE PORTS ON HYDRAULIC SWIVEL (09) - CHASSIS

Схема запчастей Case 1085B - (9-032) - CENTER SWIVEL PARTS, UNITS WITH MALE TUBE PORTS ON HYDRAULIC SWIVEL (09) - CHASSIS
FIT
1:1
100%

Артикул

Название

Примечание

Количество

1

S506612

SHROUD

COVER - center swivel parts, bolts to turntable frame

1шт.

2

413-612

BOLT,Hex, 3/8" - 16 x 3/4", Gr 5

2шт.

3

492-11038

LOCK WASHER,3/8"

2шт.

4

495-21044

WASHER,3/8"

(flat, 7/16 x 1 x 5/64 inch) 3/8"

2шт.

5

S220353

BAR ASSY.

BRACKET - upper swivel, bolts to upper shifter linkage bracket

1шт.

6

413-620

BOLT,Hex, 3/8" - 16 x 1-1/4", Gr 5

- hex, 3/8 NC x 1-1/4 inch

2шт.

7

495-11041

WASHER,0.406" ID x 0.812" OD x 0.065" W

(Flat, 13/32 x 13/16 x 1/16") 3/8", SAE

8шт.

8

131-52

NUT,3/8"-16, GC

NUT - light hex, self-locking, 3/8 inch NC

4шт.

9

413-628

BOLT,Hex, 3/8" - 16 x 1-3/4", Gr 5

- hex, 3/8 NC x 1-3/4 inch, bolts Ref. 16 and 17 together through the upper shifter linkage bracket

2шт.

10

S205962

JOINT

SWIVEL ASSEMBLY - accelerator, parts list Fig. 3-014

1шт.

11

S85136

GUIDE

- inner swivel tube, upper and lower

4шт.

12

S220358

TUBE,43.12" L

- inner swivel, see reference number 36A, Fig. 3-006

1шт.

13

B18206

SNAP RING,#87, Ext

Ring, Snap, , inner swivel tube #87, Ext

8шт.

14

B18208

SNAP RING,#100, Ext

center tube area of inner swivel tube (Ref 12) #100, Ext

1шт.

15

S616965

SPECIAL RING

COLLECTOR RING ASSEMBLY - electrical, includes brushes and harness, parts list Fig. 4-040

1шт.

16

S220351

BRACKET

- inner swivel tube support, above upper shifter linkage bracket

1шт.

17

S506137

BRACKET

- collector ring support, below upper shifter linkage bracket

1шт.

18

S242438

TUBE,4.94, 1.609" L

- collector ring

1шт.

19

REF

INSTRUCTION

SWIVEL ASSEMBLY - air, 3 port, see Fig. 7-26 and 7-028 for correct swivel

1шт.

20

113-2239

BOLT,Hex, 3/8" - 16 x 5-3/4", Gr 5

- hex, 3/8 NC x 5-3/4 inch, collector ring tube and air swivel to hydraulic swivel

2шт.

21

492-11038

LOCK WASHER,3/8"

2шт.

22

REF

INSTRUCTION

SWIVEL ASSEMBLY - hydraulic, 8 port, see Fig. 8-090 through 8-092 for correct swivel

1шт.

23

413-824

BOLT,Hex, 1/2" - 13 x 1-1/2", Gr 5

3шт.

24

80679

LOCK WASHER,1/20.507 CST ZND

WASHER, LOCK, 1/2"

3шт.

25

S238988

PLATE

- stop, hydraulic swivel

1шт.

26

26-616

BOLT,Hex, 3/8" - 16 x 1", Gr 8

- hex, 3/8 NC x 1 inch, grade 8

3шт.

27

196-1

WASHER,13/32" x 13/16" x .089", HDN

- flat, 13/32 x 13/16 x 3/32 inch, hardened

4шт.

28

S220352

PLATE

- support, inner swivel tube and hoses

1шт.

29

26-620

BOLT,Hex, 3/8" - 16 x 1-1/4", Gr 8

1шт.

30

RESERVED

1шт.

31

S94926

CLAMP

- inner swivel tube, lower

2шт.

32

131-52

NUT,3/8"-16, GC

NUT - light hex, self-locking, 3/8 inch NC

1шт.

33

D35078

GROMMET,1 1/2" ID x 1 3/4" Groove Dia

- inner swivel tube, lower

1шт.

34

S240488

COVER

- collector ring

2шт.

35

214-283

HOSE CLAMP,#116, 6.88" - 7.75", Type F Worm

CLAMP - adj, 6-7/8 - 7-3/4 inch dia, collector ring covers

2шт.

36

S240489

GASKET

- top of collector ring

1шт.

37

S118882

PLATE

- triangular, cover retaining, collector ring

2шт.

39

495-11028

WASHER,1/4", SAE

(flat, 9/32 x 5/8 x 1/16") 1/4", SAE

4шт.

40

413-616

BOLT,Hex, 3/8" - 16 x 1", Gr 5

- hex, 3/8 NC x 1 inch, Ground wires, not shown

2шт.

41

131-52

NUT,3/8"-16, GC

NUT - light hex, self-locking, 3/8 inch NC, ground wire bolts, not shown

2шт.

38

413-420

BOLT,Hex, 1/4" - 20 x 1-1/4", Gr 5

4шт.

Выбрано товаров: 41