Запчасти Case 1085C (8-006) - HYDRAULIC OIL COOLER LINES (08) - HYDRAULICS

Схема запчастей Case 1085C - (8-006) - HYDRAULIC OIL COOLER LINES (08) - HYDRAULICS
FIT
1:1
100%

Артикул

Название

Примечание

Количество

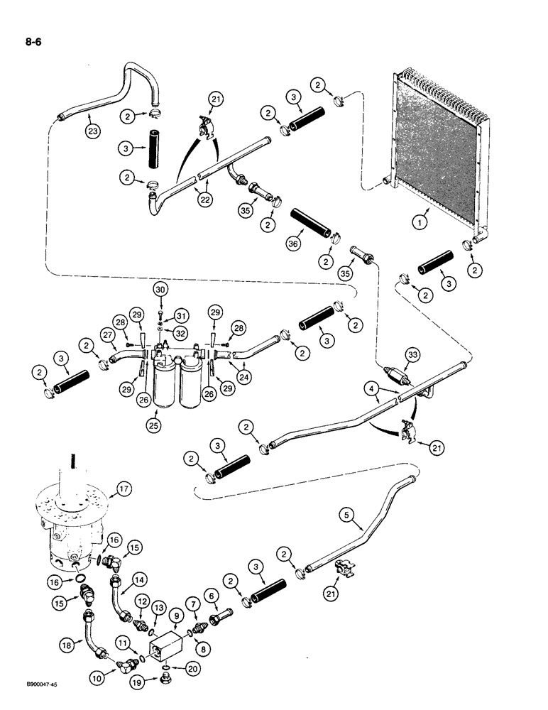
1

A189146

COOLER

- hydraulic oil, see Figure: 2-4, items 42 through 44 for mounting hardware

1шт.

2

214-372

CLAMP,#30, 1.81"-2.06", T-Bolt

- hose

16шт.

3

S121101

HYDRAULIC HOSE,1.50" ID x 9.00"

- Cut from S120500 bulk hose, See below 1.50" ID x 9.00"

7шт.

4

S517777

TUBE

- intermediate, to oil cooler

1шт.

5

S517775

TUBE

- intermediate, from manifold

1шт.

6

S231593

TUBE ASSY.,1.5" OD x 5.5" L

TUBE - at manifold

1шт.

7

218-5072

HYD CONNECTOR,1-5/8" - 12 Male JIC x 1-5/8" - 12 Male ORB

ADAPTER - straight, 1-5/8-12 inch flare x O-ring boss, Includes: Ref. 8

1шт.

8

237-6020

O-RING,0.118" Thk x 1.475" ID, -920, Cl 6, 90 Duro

20-1, 90 Duro, 1.475" ID x .118" Thk

1шт.

9

S517533

MANIFOLD

- block

1шт.

10

218-5112

ELBOW,90 Degree Elbow, 1-5/8" - 12 Male JIC x 1-5/8" - 12 Male ORB

- 90 degree adj, 1-5/8-12 inch flare x O-ring boss, Includes: Ref. 11

1шт.

11

237-6020

O-RING,0.118" Thk x 1.475" ID, -920, Cl 6, 90 Duro

20-1, 90 Duro, 1.475" ID x .118" Thk

1шт.

12

218-5072

HYD CONNECTOR,1-5/8" - 12 Male JIC x 1-5/8" - 12 Male ORB

ADAPTER - straight, 1-5/8-12 inch flare x O-ring boss, Includes: Ref. 13

1шт.

13

237-6020

O-RING,0.118" Thk x 1.475" ID, -920, Cl 6, 90 Duro

20-1, 90 Duro, 1.475" ID x .118" Thk

1шт.

14

S517545

TUBE

- at swivel port 8

1шт.

15

218-5334

ELBOW,90º, 1 5/8"-12, 37º x 1 7/8"-12, O-Ring

- 90 degree adj, 1-5/8-12 flare x 1-7/8-12 inch O-ring, Includes: Ref. 16

2шт.

16

237-6020

O-RING,0.118" Thk x 1.475" ID, -920, Cl 6, 90 Duro

20-1, 90 Duro, 1.475" ID x .118" Thk

1шт.

17

S619177

PIVOT

SWIVEL ASSEMBLY - lower hydraulic, parts list Figure: 8-60

1шт.

18

S517543

TUBE

- at swivel port 1

1шт.

19

218-5161

PLUG,Hex Hd, 1 5/8"-12 ORB

- hex, 1-5/8-12 inch O-ring boss, Includes: Ref. 20

1шт.

20

237-6020

O-RING,0.118" Thk x 1.475" ID, -920, Cl 6, 90 Duro

20-1, 90 Duro, 1.475" ID x .118" Thk

1шт.

21

S98324

CLAMP

- tube, includes hardware

5шт.

22

S517779

TUBE

- intermediate, from oil cooler

1шт.

23

S517780

TUBE

- intermediate, to hydraulic reservoir

1шт.

24

S517782

TUBE

- to oil filter

1шт.

25

1971539C1

FILTER ASSY

FILTER ASSEMBLY - hydraulic oil, parts list Figure: 8-4

1шт.

26

L53821

O-RING,0.139" Thk x 1.859" ID, -225, Cl 6, 90 Duro

- oil filter

2шт.

27

S517784

TUBE

- from filter to hydraulic reservoir

1шт.

28

413-820

BOLT,Hex, 1/2" - 13 x 1-1/4", Gr 5

- hex, 1/2 NC x 1-1/4 inch

8шт.

29

A14157

FLANGE

- split

4шт.

30

413-616

BOLT,Hex, 3/8" - 16 x 1", Gr 5

- hex, 3/8 NC x 1 inch

4шт.

31

492-11038

LOCK WASHER,3/8"

4шт.

32

495-11041

WASHER,0.406" ID x 0.812" OD x 0.065" W

(Flat, 13/32 x 13/16 x 1/16") 3/8", SAE

4шт.

S105386

VALVE

ASSEMBLY - check, Includes: Ref. 33 and 34

1шт.

33

NSS

NOT SOLD SEPARAT

BODY - check valve

1шт.

34

A13084

O-RING,12.37" ID x 1.443" OD x 0.103"

- check valve, not shown

1шт.

35

S231593

TUBE ASSY.,1.5" OD x 5.5" L

TUBE - crossover

2шт.

36

S121102

HYDRAULIC HOSE,1.50" ID x 11.00"

- Cut from S120500 bulk hose, See below 1.50" ID x 11.00"

1шт.

S120500

HOSE,1.50" ID x 60.00"

1.50" ID x 60.00"

1шт.

Выбрано товаров: 38