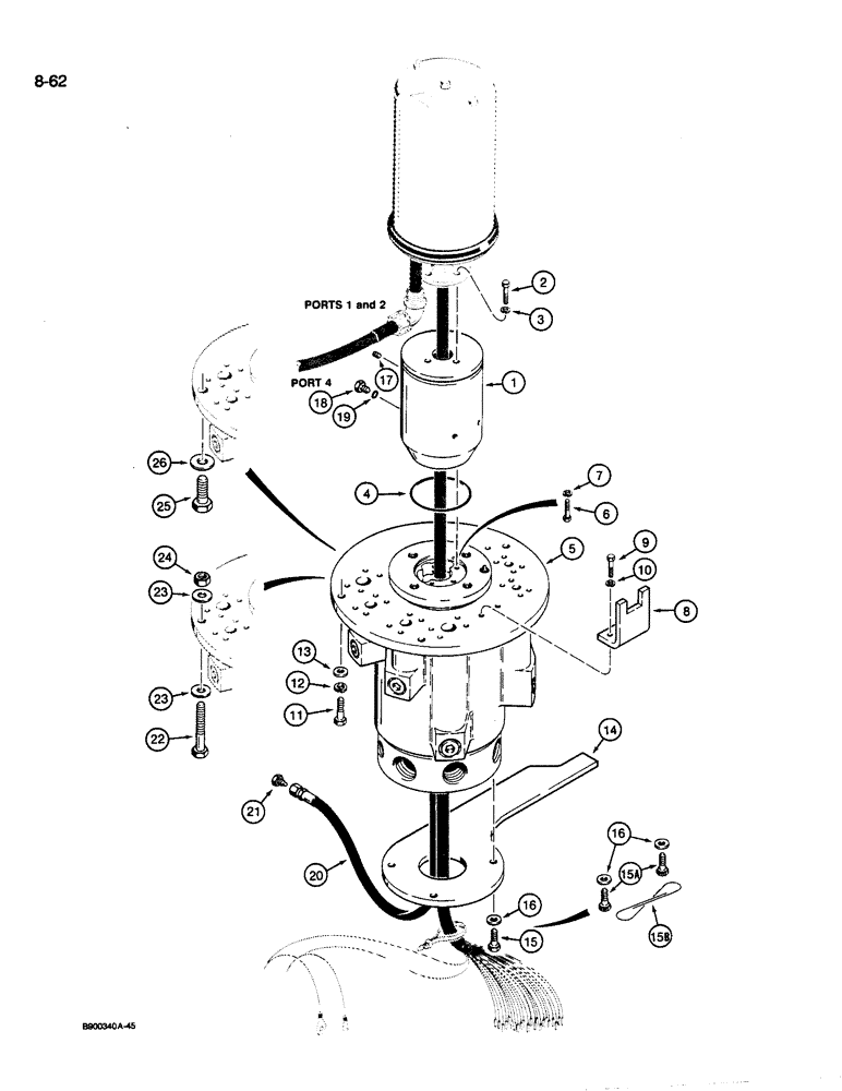
Запчасти Case 1085C (8-062) - UPPER AND LOWER HYDRAULIC SWIVEL MOUNTING (08) - HYDRAULICS

Схема запчастей Case 1085C - (8-062) - UPPER AND LOWER HYDRAULIC SWIVEL MOUNTING (08) - HYDRAULICS
FIT
1:1
100%

Артикул

Название

Примечание

Количество

1

S517241

PIVOT

SWIVEL ASSEMBLY - upper hydraulic, parts list Figure: 8-058

1шт.

2

413-628

BOLT,Hex, 3/8" - 16 x 1-3/4", Gr 5

- hex, 3/8 NC x 1-3/4 inch

3шт.

3

492-11038

LOCK WASHER,3/8"

3шт.

4

238-5250

O-RING,0.139" Thk x 4.984" ID, -250, Cl 5, 75 Duro

-250, 70 Duro, 4.984" ID x .139 Thk

1шт.

5

S619177

PIVOT

SWIVEL ASSEMBLY - lower hydraulic, parts list Figure: 8-060

1шт.

6

413-620

BOLT,Hex, 3/8" - 16 x 1-1/4", Gr 5

- hex, 3/8 NC x 1-1/4 inch, grade 5

3шт.

7

492-11038

LOCK WASHER,3/8"

3шт.

8

S243360

BRACKET

- stop, upper and lower swivels

1шт.

9

413-620

BOLT,Hex, 3/8" - 16 x 1-1/4", Gr 5

- hex, 3/8 NC x 1-1/4 inch

2шт.

10

492-11038

LOCK WASHER,3/8"

2шт.

11

326-828

BOLT,Hex, 1/2" - 13 x 1-3/4", Gr 8

No longer used, see items 22 through 26 Hex, 1/2"-13 x 1 3/4", G8

3шт.

12

80679

LOCK WASHER,1/20.507 CST ZND

WASHER, LOCK, , No longer used, See items 22 through 26 1/2"

3шт.

13

496-21053

WASHER,17/32" x 1 1/16" x .134"

- flat, 17/32 x 1-1/16 x 1/8 inch, hardened, No longer used, see items 22 through 26

3шт.

14

S242813

PLATE

BRACKET - stop, lower swivel

1шт.

15

326-820

BOLT,Hex, 1/2" - 13 x 1-1/4", Gr 8

Replaced by items 15A and 15B Hex, 1/2"-13 x 1 1/4", G8, Full Thd

4шт.

15a

S121117

BOLT

- special, drilled head

4шт.

15b

S120626

ELECTRICAL WIRE

WIRE - special, bolt retaining, 15 inch long

2шт.

16

496-21053

WASHER,17/32" x 1 1/16" x .134"

- flat, 17/32 x 1-1/16 x 1/8 inch, hardened

4шт.

17

221-843

PLUG,Hex Soc, 3/8"-18

- hex socket, 3/8 inch PT, Includes: Ref. 19

2шт.

18

9672438

PLUG,7/16" - 20 ORB

Incl. Ref. 19 Hex Hd, 7/16"-20 ORB

1шт.

19

237-6004

O-RING,0.072" Thk x 0.351" ID, -904, Cl 6, 90 Duro

4-1, 90 Duro, .351" ID x .072" Thk

1шт.

20

S77467

HOSE

- 38 inch long, from port 4 of upper swivel

1шт.

21

218-772

PLUG,7/16"-20, 37 Degree

- hex, 7/16-20 inch flare, hose from port 4 of swivel, if used

1шт.

22

326-1064

BOLT,Hex, 5/8" - 11 x 4", Gr 8

3шт.

Use if swivel mounting has been modified per Service Bulletin NEX SB 007 91.

1шт.

23

396-21066

WASHER,16.66mm ID x 33.33mm OD x 4.27mm Thk

6шт.

Use if swivel mounting has been modified per Service Bulletin NEX SB 007 91.

1шт.

24

131-64

LOCK NUT,5/8"-11, GC

NUT - light hex, self-locking, 5/8 inch NC

3шт.

Use if swivel mounting has been modified per Service Bulletin NEX SB 007 91.

1шт.

25

413-1232

BOLT,Hex, 3/4" - 10 x 2", Gr 5

- hex, 3/4 NC x 2 inch, Used when turntable mast and swivel have 3/4 inch tapped blocks and mounting holes, production replacement for items 11, 12 and 13

3шт.

26

396-31081

WASHER,20.63mm ID x 38.1mm OD x 5.56mm Thk

Production replacement for items 11, 12 and 13 13/16" x 1 1/2" x .219", HDN

3шт.

Выбрано товаров: 31