Запчасти Case 1085C (2-12) - COLD WEATHER STARTING SYSTEM (02) - ENGINE

Схема запчастей Case 1085C - (2-12) - COLD WEATHER STARTING SYSTEM (02) - ENGINE
FIT
1:1
100%

Артикул

Название

Примечание

Количество

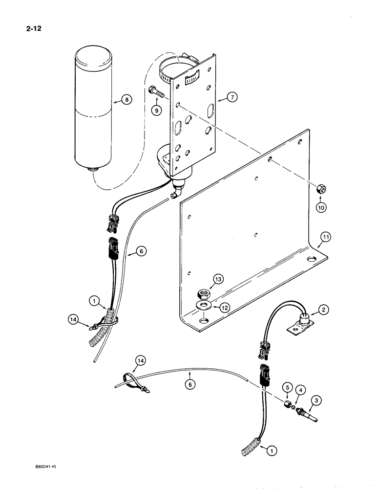
1

S619491

HARNESS

- engine, for additonal connections see Figure: 4-08

1шт.

2

L126191

THERMOSTATIC SWITCH

- circuit breaking, includes lead wires use intake manifold cover hardware for mounting

1шт.

A172900

NOZZLE CAP

NOZZLE ASSEMBLY - cold start, Includes: Ref. 3 - 5

1шт.

3

NSS

NOT SOLD SEPARAT

BODY - nozzle

1шт.

4

222-650

SLEEVE,1/8" Tube, Comp

1шт.

5

222-660

FLANGE NUT,5/16"-24, 45 Degree Fl, Comp

1/8" tube OD 5/16"-24, 45º Fl, Comp

1шт.

6

A172361

TUBE

- nylon, 1/8 (3 mm) x 72 inch (1829 mm) long

1шт.

7

L126094

VALVE

ASSEMBLY - individual components are not serviced separately

1шт.

8

A171940

CYLINDER

- starting fluid

1шт.

9

413-616

BOLT,Hex, 3/8" - 16 x 1", Gr 5

- hex, 3/8 NC x 1 inch

2шт.

10

131-217

LOCK NUT

NUT - hex, self-locking, 3/8 inch NC, grade 8

2шт.

11

S243566

BRACKET

- mounting

1шт.

12

495-11053

WASHER,1/2", SAE

(17/32" x 1-1/16" x 3/32") 1/2", SAE

2шт.

13

131-70

NUT,1/2"-13, GB

NUT - hex, self-locking, 1/2 inch NC

2шт.

14

L18337

CABLE TIE,9.95"-12.1" lg

STRAP - tie, 15 inch, nylon

1шт.

Выбрано товаров: 15