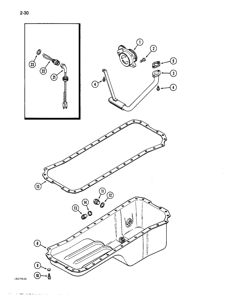
Запчасти Case 1085C (2-30) - OIL PUMP AND OIL PAN, 6T-590 ENGINE (02) - ENGINE

Схема запчастей Case 1085C - (2-30) - OIL PUMP AND OIL PAN, 6T-590 ENGINE (02) - ENGINE
FIT
1:1
100%

Артикул

Название

Примечание

Количество

1

J914006

PUMP, ENGINE OIL

PUMP ASSEMBLY - oil, engine, new

1шт.

JR906414

REMAN-ENG OIL PUMP

REMAN-ENGINE OIL PUMP PUMP ASSEMBLY - engine oil, remanufactured (North America Only)

1шт.

JC906414

CORE-HYDRAULIC PUMP

RETURN NUMBER - use this part number to return pump core for credit

1шт.

JR941742

REMAN-ENG OIL PUMP

REMAN-ENGINE OIL PUMP Remanufactured Oil Pump; For N.A. only

1шт.

JC926203

CORE-ENGINE OIL PUMP

CORE-ENGINE OIL PUMP Return number - For N.A. only

1шт.

2

813-8030

BOLT,Hex, M8 x 1.25 x 30mm, Cl 8.8, Full Thd

BOLT, Hex, M8 x 30, 8.8, Full Thd

4шт.

3

J909373

TUBE

TUBE AND SCREEN - oil suction

1шт.

4

845-8016

BOLT,Hvy Hex, M8 x 16mm, Cl 8.8

BOLT - heavy hex flange, 8 mm - 1.25 x 16 mm

3шт.

5

J914383

GASKET

GASKET - mounting, tube

1шт.

Part of oil pan gasket kit P/N A77676

1шт.

8

J915703

PAN, ENGINE OIL

PAN, OIL PAN - oil, engine

1шт.

9

J907537

SPRING WASHER

WASHER - spring

36шт.

10

J907860

FLANGE BOLT,Hex, M8 x 25mm, Spcl

BOLT - hex flange, 18 x 16 mm

36шт.

11

J904386

PLUG

PLUG - pipe, heater hole, 18 mm

1шт.

12

J902425

SEALING WASHER,22.2mm ID x 26.9mm OD x 1.75mm Thk

WASHER - seal, plug

1шт.

13

J900215

PLUG

PLUG - drain, oil (Alternate with J911638 plug)

1шт.

13

J911638

PLUG,M18 x 1.5

PLUG - drain, oil magnetic (Alternate with J900215 plug)

1шт.

14

J900216

PACKING RING

WASHER - seal, drain plug

1шт.

Part of oil pan gasket kit P/N A77676

1шт.

15

NSS

NOT SOLD SEPARAT

GASKET - oil pan (Order A77492)

1шт.

Part of oil pan gasket kit P/N A77676

1шт.

A77676

GASKET KIT

GASKET KIT - oil pan, Includes: Ref. 5, 14 and 15

1шт.

A77490

KIT

KIT - heater, engine oil, Includes: Ref. 21 and 22

1шт.

21

J905113

CABLE

CABLE - engine block heater, oil

1шт.

22

NSS

NOT SOLD SEPARAT

ELEMENT - heater (Order A77490), engine oil

1шт.

23

J902425

SEALING WASHER,22.2mm ID x 26.9mm OD x 1.75mm Thk

WASHER - sealing, engine oil heater

1шт.

Выбрано товаров: 26