Запчасти Case 420CT (09-10A) - CHASSIS (420CT) (09) - CHASSIS

Схема запчастей Case 420CT - (09-10A) - CHASSIS (420CT) (09) - CHASSIS
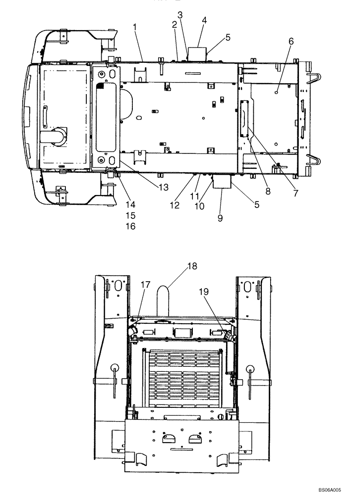
6
13
12
11
3
19
8
10
18
15
1
7
2
14
5
5
17
4
9
16
FIT
1:1
100%

Артикул

Название

Примечание

Количество

87386008

CONSTRUCTION DIA

Kit; Chassis; Incl. Ref 1, 17, 19, Figure 04-06 Ref 4, 5, 6, 7 An (16) Various Plugs

1шт.

1

87369096

FRAME ASSY

Chassis Frame; Used In Production

1шт.

1a

277450A1

STUD,M16 x 2 x 40mm, Cl 10.9

M16x40; Studs For Axle Mounting

20шт.

2

87368769

COVER

Plate, Left Hand

1шт.

3

87368772

GUARD

Hose Guard Lower Left

1шт.

4

87368773

GUARD

Hose Guard Upper Left

1шт.

5

9840344

BOLT,Hex, 5/16" - 18 x 11/16"

Screw; Sealing

12шт.

6

87454385

PLATE ASSY.

Floor

1шт.

7

87430679

PLATE

1шт.

8

86545825

SELF-TAP SCREW,Hex Wash Hd, 5/16" x 5/8"

4шт.

9

87368771

GUARD

Hose Guard Upper Right

1шт.

10

87368770

GUARD

Guard

1шт.

11

87368768

COVER

Plate, Right Hand

1шт.

12

87030508

BOLT,Hvy Hex, M12 x 30mm, Full Thd, Cl 10.9

Hex Flg, M12 x 30, 10.9, Full Thd

12шт.

13

87458638

PANEL

Heat Shield Extension; Perforated Top

1шт.

14

43128

BOLT,M8 x 1.25 x 30mm, Cl 8.8

2шт.

15

140016

WASHER,M8 x 16mm OD x 1.6mm Thk

4шт.

16

43362

NUT,M8 x 1.25, Cl 10

2шт.

17

H436887

CAP

Fuel; Non-Locking

1шт.

17

108925A1

FILLER CAP

Fuel; Locking; If Used

1шт.

18

REF

INSTRUCTION

Hood, Engine; See Figure 09-16

1шт.

19

257448A1

CAP

Oil Filler; Incl. 292259A1

1шт.

292259A1

SEAL

Filler Cap

1шт.

Выбрано товаров: 23