Запчасти Case 420CT (09-11A) - CHASSIS (420CT) (09) - CHASSIS

Схема запчастей Case 420CT - (09-11A) - CHASSIS (420CT) (09) - CHASSIS
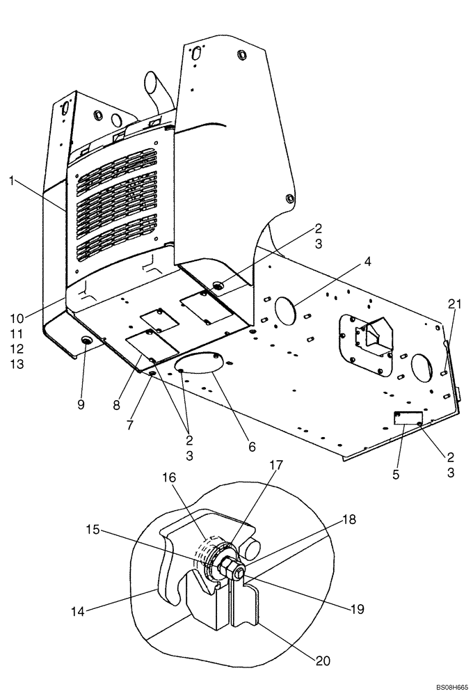
13
12
8
9
4
5
3
6
17
1
14
10
3
2
2
11
21
15
20
3
7
2
18
19
16
FIT
1:1
100%

Артикул

Название

Примечание

Количество

1

REF

INSTRUCTION

Door Assy; See Figure 09-17

1шт.

2

86625255

WASHER,13.3mm ID x 24.5mm OD x 3mm Thk

M12 x 24.5 x 3, HT

12шт.

3

9824642

BOLT,M12 x 1.75 x 42.68mm, Cl 10.9

10шт.

4

86991034

PLUG

Axle Access

4шт.

5

H436914

LARGE PLATE

PLATE, LARGE

2шт.

6

365817A1

COVER

1шт.

7

236622

PLUG,3/8" - 18 NPT

3/8

2шт.

8

87458642

PLATE

Plumbing Access

2шт.

9

87432221

PLUG

1, Magnetic

2шт.

10

87453961

BUMPER

Counterweight

1шт.

11

87445534

BOLT

M20 x 70

2шт.

12

86625260

WASHER,21.8mm ID x 37.5mm OD x 4mm Thk

M20 x 37.5 x 4, HT

2шт.

11

412641

BOLT,Hex, M20 x 2.5 x 70mm, Cl 10.9

Replaces 87445534

2шт.

13

86536985

NUT,M20 x 2.5, Cl 10

2шт.

14

390516A3

LATCH

ROPS

1шт.

15

278332A1

SPRING WASHER

Spring

1шт.

16

87381

WASHER,0.81" ID x 1.47" OD x 0.13" Thk

1шт.

17

294967A1

WASHER

Latch Mounting

1шт.

18

86500689

NUT,M10 x 1.5, Cl 10

2шт.

19

294943A1

STUD

Latch Mounting

1шт.

20

294911A2

HOOK

Plate, Latch Return

1шт.

21

277450A1

STUD,M16 x 2 x 40mm, Cl 10.9

M16x40; Studs For Axle Mounting

20шт.

Выбрано товаров: 22