Качественные детали и логистика
Оригинальные и аналоговые запчасти с доставкой по России, Казахстану и Беларуси
©2022 PartSell ООО "Система" ИНН 2463123282 ОГРН 1212400004838
Центральный офис: г. Красноярск, Академика Киренского, д.87, пом.4
Телефон: 8 (800) 777-65-74 Email: zakaz@partsell.ru
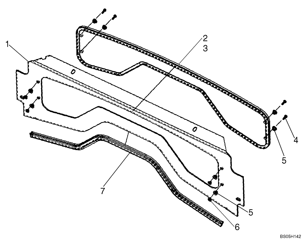
(09-25C) - CAB DOOR - UPPER PANEL
№
Артикул
Название
Примечание
Количество
87459546
PANEL
Incl. 1- 7
1шт.
1
87459544
2
87459543
GLASS
3
87459547
SEAL, GLASS
Seal
4
86634390
SCREW,Pan, #8 - 32 x 1/2"
4шт.
5
87458044
GROMMET
8шт.
6
87458045
INSERT
8-32
7
87461186
Edge Protector
Выбрано товаров: 0