Запчасти Case 420CT (09-38) - LIFT HOOK (09) - CHASSIS

Схема запчастей Case 420CT - (09-38) - LIFT HOOK (09) - CHASSIS
5
3
2
4
1
FIT
1:1
100%

Артикул

Название

Примечание

Количество

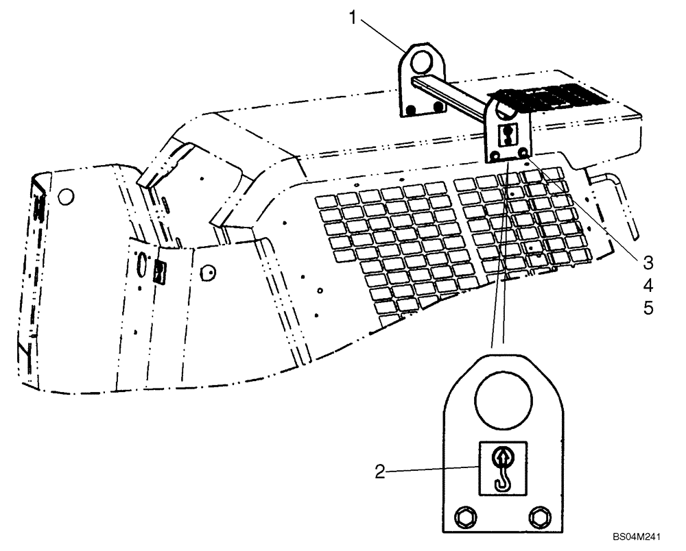
1

87446499

BRACKET

Lift Hook

1шт.

2

139729A1

DECAL

4шт.

3

337563

BOLT,M12 x 1.75 x 47.68mm, Cl 10.9

4шт.

4

86625256

WASHER,13.3mm ID x 28.5mm OD x 4mm Thk

8шт.

5

412672

NUT,Hex, M12 x 1.75, Cl 10

4шт.

Выбрано товаров: 5