Запчасти Case 420CT (08-07) - HYDRAULICS - COUPLER SYSTEM (08) - HYDRAULICS

Схема запчастей Case 420CT - (08-07) - HYDRAULICS - COUPLER SYSTEM (08) - HYDRAULICS
18a
26
23
4
8
28
22
15
19
20
24
10
27
15
31
21
25
17
32
18c
14
29
30
22
9
24
20
18b
2
14
26
13
25
16
3
19
21
12
5
6
1
18
7
11
FIT
1:1
100%

Артикул

Название

Примечание

Количество

1

REF

INSTRUCTION

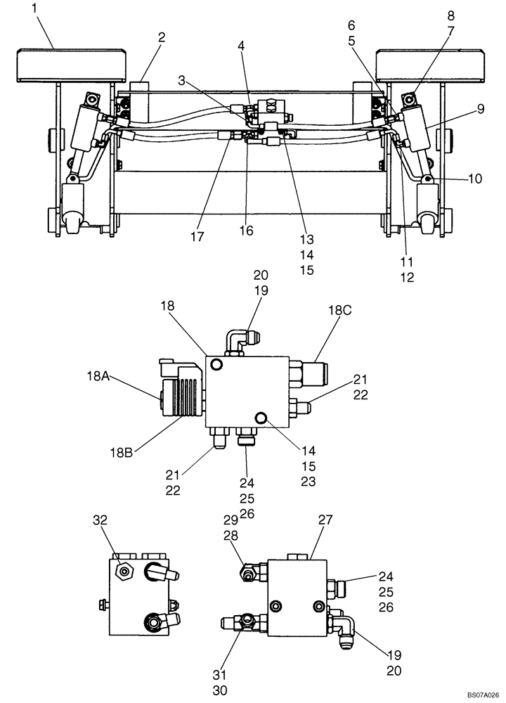
Coupler Frame; See Figure 09-04; See Figure 08-06

1шт.

2

396052A2

FLAG

2шт.

3

87440569

HOSE ASSY.

Left Hand; Base End

1шт.

4

87440566

HOSE ASSY.

Right Hand; Base End

1шт.

5

265235

HYD CONNECTOR,7/16" - 20 ORB x 7/16" - 20 JIC

Incl. 6

2шт.

6

165202

O-RING,0.072" Thk x 0.351" ID, -904, Cl 6, 90 Duro

1шт.

7

87612753

RETAINER,#50, 0.46", Ext

Retaining Ring Ext. #50; Replaces 100-1650

4-2шт.

8

87387540

PIN,12.7mm OD x 67.55mm L

Replaces 395968A1; Handle Pivot

2шт.

9

86616996

CYLINDER,Double Acting, 19.05mm Rod, 48.01mm Stroke

Component Parts Not Serviced Separately; If Used

2шт.

9

87442337

CYLINDER,Double Acting, 19.05mm Rod, 48mm Stroke

Component Parts Not Serviced Separately; If Used

2шт.

10

87610718

PIN,9.53mm OD x 57.15mm L

Replaces 38-32436

2шт.

11

216773

90 ELBOW,90 Degree, 7/16"-20, 37 Degree x 7/16"-20, O-Ring

Incl. 12

2шт.

12

165202

O-RING,0.072" Thk x 0.351" ID, -904, Cl 6, 90 Duro

1шт.

13

86508570

BOLT,Hex, M6 x 80mm OAL, Cl 8.8

2шт.

14

86512440

NUT,M6, Cl 10

4шт.

15

86588450

WASHER,6.6mm ID x 12mm OD x 1.6mm Thk

8шт.

16

87440570

HOSE ASSY.

Left Hand; Rod End

1шт.

17

87440568

HOSE ASSY.

Right Hand; Rod End

1шт.

18

87421480

HYDRAULIC VALVE

Hydraulic Coupler; Incl.18A - 18C

1шт.

18a

87562926

VALVE

Sequence Valve Sauer No. CP538-1-U-0-12D-DE

1шт.

18b

87433496

COIL

Sauer No. 322113

1шт.

18c

87562923

VALVE

Sequence Valve Sauer No. CP240-21-B-0-A-C-270

1шт.

19

76344

90 ELBOW,9/16" - 18 JIC x 9/16" - 18 ORB

Incl. 20

2шт.

20

9617873

O-RING,0.078" Thk x 0.468" ID, -906, Cl 6, 90 Duro

1шт.

21

76350

HYD CONNECTOR,9/16" - 18 ORB x 9/16" - 18 JIC

Incl 22

2шт.

22

9617873

O-RING,0.078" Thk x 0.468" ID, -906, Cl 6, 90 Duro

1шт.

23

338413

BOLT,Hex, M6 x 60mm, Cl 8.8

2шт.

24

9993143

HYD CONNECTOR,11/16" - 16 ORFS x 9/16" - 18 ORB

.375; Incl. 25, 26

2шт.

25

9993141

O-RING,0.07" Thk x 0.364" ID, -12, Cl 6, 90 Duro

1шт.

26

9617873

O-RING,0.078" Thk x 0.468" ID, -906, Cl 6, 90 Duro

1шт.

27

294741A1

CHECK VALVE

Component Parts Not Serviced Separately

1шт.

28

86512934

90 ELBOW,90 Degree, 7/16"-20, 37 Degree x 9/16"-18, O-Ring

Incl. 29

1шт.

29

9617873

O-RING,0.078" Thk x 0.468" ID, -906, Cl 6, 90 Duro

1шт.

30

86513020

TEE,9/16" - 18 ORB x 9/16" - 18 JIC x 9/16" - 18 JIC

Incl. 31

1шт.

31

9617873

O-RING,0.078" Thk x 0.468" ID, -906, Cl 6, 90 Duro

1шт.

32

139398

HYD CONNECTOR,9/16" - 18 ORB x 7/16" - 20 JIC

Incl. 9617873

1шт.

9617873

O-RING,0.078" Thk x 0.468" ID, -906, Cl 6, 90 Duro

1шт.

Выбрано товаров: 37