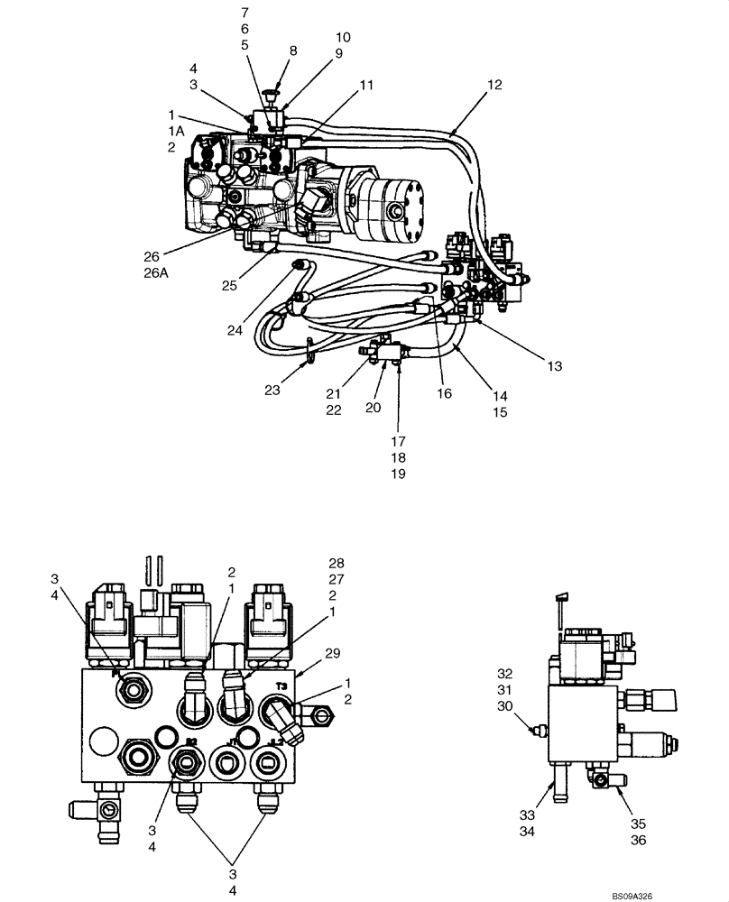
Запчасти Case 420CT (06-12) - HYDROSTATICS - OVERRIDE AND BRAKE VALVE (420CT WITH PILOT CONTROL) (06) - POWER TRAIN

Схема запчастей Case 420CT - (06-12) - HYDROSTATICS - OVERRIDE AND BRAKE VALVE (420CT WITH PILOT CONTROL) (06) - POWER TRAIN
32
23
29
21
13
30
15
1
4
1
1
28
27
2
18
4
7
4
5
2
1a
26a
36
1
33
34
14
2
31
11
9
17
4
3
6
3
24
26
20
16
8
19
35
2
22
3
10
12
3
25
FIT
1:1
100%

Артикул

Название

Примечание

Количество

1

76344

90 ELBOW,9/16" - 18 JIC x 9/16" - 18 ORB

Incl. 2

4-5шт.

1a

330346

45 ELBOW,45 Degree, 9/16"-18, 37 Degree x 9/16"-18, O-Ring

Incl 2

1шт.

2

9617873

O-RING,0.078" Thk x 0.468" ID, -906, Cl 6, 90 Duro

5шт.

3

76350

HYD CONNECTOR,9/16" - 18 ORB x 9/16" - 18 JIC

Incl 4

5шт.

4

9617873

O-RING,0.078" Thk x 0.468" ID, -906, Cl 6, 90 Duro

5шт.

5

86624181

WASHER,M6

2шт.

6

86512440

NUT,M6, Cl 10

2шт.

7

120056

BOLT,M6 x 1.0 x 54.15mm, Cl 8.8

2шт.

8

87568435

DECAL

Boom Overide

1шт.

9

87604076

VALVE, EXHAUST, OVER

Boom Overide Valve; Components Not Serviced At This Time

1шт.

11

87563992

HOSE

Dump Valve Drain, 820mm (32 9/32 in.); If Used

1шт.

11

87707137

HOSE,9.53mm ID x 620mm L

Dump Valve Drain,620mm (24.41in)

1шт.

12

87583075

HOSE

950mm (37 13/32 in.)

1шт.

13

87364806

HOSE,9.53mm ID x 1200mm L

Brake, LH, 1200mm (47 1/4 in.)

1шт.

14

87563996

HOSE,12.70 mm ID x 290.00 mm

Multi Valve Drain

1шт.

15

87443510

HOSE CLAMP,18.4mm Static ID x 15mm W

6шт.

16

87583076

HOSE

Two Speed, LH, 1050mm (41 11/32 in.)

1шт.

17

86588450

WASHER,6.6mm ID x 12mm OD x 1.6mm Thk

3шт.

18

86977790

BOLT,Hex, M6 x 45mm, Cl 8.8

2шт.

19

87404992

SQUARE NUT,M6 x 1.0, Cl 8

2шт.

20

87437351

MANIFOLD

Return Oil Manifold

1шт.

21

76349

PLUG,9/16" - 18 ORB

Incl. 22

1шт.

22

9617873

O-RING,0.078" Thk x 0.468" ID, -906, Cl 6, 90 Duro

1шт.

23

L11541

CABLE TIE,203.2mm L, Nylon

CABLE STRAP

3шт.

24

87583077

HOSE

Two Speed, RH, 775mm (30 1/2 in.)

2шт.

25

87026844

HOSE ASSY.

Hose, 551mm (21 11/16 in.)

1шт.

26

87393628

ADAPTER,1" Hose Barb x 1-5/16" - 12 ORB

Incl 26A

1шт.

26a

218-5010

O-RING,0.116" Thk x 1.171" ID, -916, Cl 6, 90 Duro

1шт.

27

87573371

ADAPTER

Incl 28

1шт.

28

9617873

O-RING,0.078" Thk x 0.468" ID, -906, Cl 6, 90 Duro

1шт.

29

87577076

PILOT VALVE

See Fig 06-14

1шт.

29

87756437

HYDRAULIC VALVE

See Fig 06-14A

1шт.

30

229197A1

SQUARE NUT,M8 x 1.25, Cl 8

4шт.

31

86624184

WASHER,9mm ID x 16mm OD x 1.6mm Thk

4шт.

32

86508571

BOLT,Hex, M8 x 90mm, Cl 8.8

2шт.

33

86705988

FITTING,1/2" Hose Bead x 9/16" - 18 ORB

Incl. 34

1шт.

34

9617873

O-RING,0.078" Thk x 0.468" ID, -906, Cl 6, 90 Duro

1шт.

35

L104616

TEE,9/16" - 18 JIC x 9/16" - 18 JIC x 9/16" - 18 ORB

Incl. 36

1шт.

36

9617873

O-RING,0.078" Thk x 0.468" ID, -906, Cl 6, 90 Duro

2шт.

Выбрано товаров: 39