Запчасти Case 420CT (09-34) - HEATER SYSTEM (09) - CHASSIS

Схема запчастей Case 420CT - (09-34) - HEATER SYSTEM (09) - CHASSIS
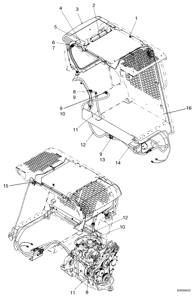
14
4
8
12
1
3
11
9
16
2
8
9
11
10
15
7
12
9
10
6
13
FIT
1:1
100%

Артикул

Название

Примечание

Количество

87638259

SERVICE KIT

Kit, Deluxe Heater; Incl 1 - 16

1шт.

1

REF

INSTRUCTION

Heater System; See Fig 09-35

1шт.

2

9804256

BOLT,Hex, M6 x 1 x 20mm, Full Thd, Cl 8.8

3шт.

3

84129072

Heater Assembly; Incl 87653394 And 84146888

1шт.

3

87653394

HEATER

Heater Assembly; See Fig 09-36

1шт.

4

87450833

TAPE

If Used

2шт.

5

291308

SEALING STRIP,0.75" W x 0.5" Thick

580mm (22 13/16 in.) ; If Used

1шт.

6

9804257

FLANGE BOLT,Hex, M6 x 1.0 x 25mm, Cl 8.8, Full Thd

2шт.

7

86619800

FLANGE NUT,M6 x 1, Cl 8

2шт.

8

642560

FITTING,5/8" Hose x 3/8" NPTF Beaded

1шт.

9

87443511

CLAMP,22mm - 26mm, CTB-24, Style C

6шт.

10

504249332

FITTING,M35 x 1.5, 18mm

use with Gasket 99469380

1шт.

11

87717213

HEATER HOSE,15.75" mm ID, 1035.00 mm, SAE 20R3

1шт.

12

87717216

HEATER HOSE,15.75" mm ID, 1565.00 mm, SAE 20R3

1шт.

13

87610315

TUBE,15.9 mm OD x 79.4, 56.4 mm L

1шт.

14

87717212

HEATER HOSE,15.75" mm ID, 760.00 mm, SAE 20R3

2шт.

15

87555250

PLUG

A/C Switch Plug

1шт.

16

414635A1

COVER,25.4mm OD x 0.51mm Thk

25.4mm Dia, Lexan; If Used

3шт.

Выбрано товаров: 18