Качественные детали и логистика
Оригинальные и аналоговые запчасти с доставкой по России, Казахстану и Беларуси
©2022 PartSell ООО "Система" ИНН 2463123282 ОГРН 1212400004838
Центральный офис: г. Красноярск, Академика Киренского, д.87, пом.4
Телефон: 8 (800) 777-65-74 Email: zakaz@partsell.ru
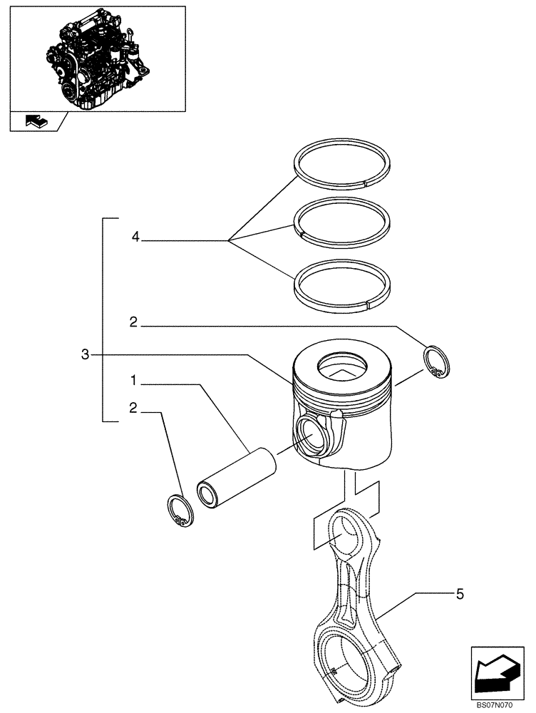
(02-24) - PISTON - ENGINE (87546691)
№
Артикул
Название
Примечание
Количество
1
504047720
PISTON PIN
4шт.
2
504051611
LOCK WASHER
8шт.
3
8097546
PISTON ASSY
+ 0,0
8097548
PISTON ASSY +0.4
+0.4
4
8097545
PISTON RING SET
8097547
SET,PISTON RINGS+0.4
SET OF PISTON RINGS +0.4
5
REF
INSTRUCTION
See Figure 02-23, Connecting Rod
1шт.
Выбрано товаров: 0