Запчасти Case 440CT (06-09E) - HYDROSTATICS - TWO SPEED, VALVE ASSY - 440CT WITH PILOT CONTROL (06) - POWER TRAIN

Схема запчастей Case 440CT - (06-09E) - HYDROSTATICS - TWO SPEED, VALVE ASSY - 440CT WITH PILOT CONTROL (06) - POWER TRAIN
6
2
11
12
1
7
9
5
3a
11
10
4
8
12
10
3
12
10a
1
FIT
1:1
100%

Артикул

Название

Примечание

Количество

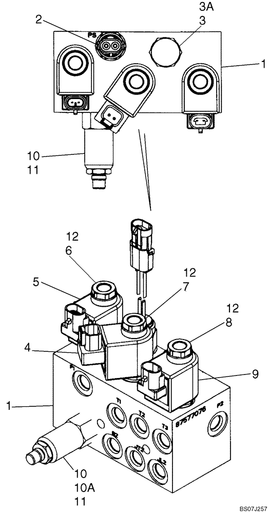
1

87577076

PILOT VALVE

Brake Valve; Two Speed; Incl. 1 - 12

1шт.

2

87458061

PRESSURE SWITCH

Brake Valve; Incl. O-Ring Which Is Not Serviced Separately

1шт.

3

87614009

VALVE

Cartridge Valve

1шт.

3a

87614015

SEAL KIT

Cartridge Valve

1шт.

4

87588596

SOLENOID

Coil

1шт.

5

87588597

SOLENOID

Coil

1шт.

6

87588585

SOLENOID VALVE

Sol Valve, Two Speed

1шт.

7

87588579

SOLENOID VALVE

Sol Valve, Parking Brake

1шт.

8

87614011

SOLENOID VALVE

Sol Valve, Interlock

1шт.

9

87614012

COIL

Coil

1шт.

10

87352527

VALVE

Sequence

1шт.

10a

87614014

SEAL KIT

Solenoid Valve

1шт.

11

87426545

ORIFICE

.017 Sauer

1шт.

12

87614013

SEAL KIT

Solenoid Valve

1шт.

Выбрано товаров: 14