Запчасти Case 440CT (09-10A) - CHASSIS (440CT) (09) - CHASSIS

Схема запчастей Case 440CT - (09-10A) - CHASSIS (440CT) (09) - CHASSIS
23
11
10
22
9
18
21
12
16
8
13
11
27
3
2
8
5
25
1
7
28
20
6
17
4
15
26
9
14
24
19
FIT
1:1
100%

Артикул

Название

Примечание

Количество

87386009

CONSTRUCTION DIA

Kit, Chassis; Order From Wholegoods; Incl. Ref 1, 20, 21, Figure 04-06 Ref 4, 5, 6, 7, And (16) Various Plugs

1шт.

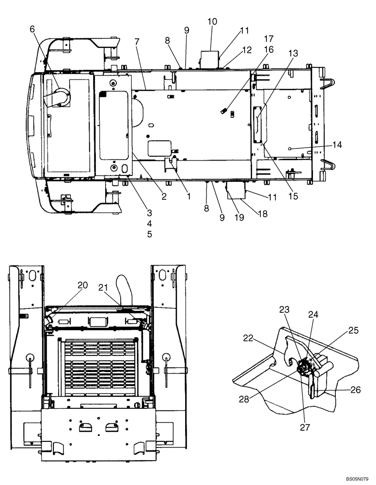
1

87548105

Chassis Frame; Order From Wholegoods; Used In Production; Replaces 87369851

1шт.

1a

254799A1

STUD

M16x45; Studs For Axle Mounting

20шт.

2

87457978

PANEL

Heat Shield Extension

1шт.

3

43128

BOLT,M8 x 1.25 x 30mm, Cl 8.8

2шт.

4

43362

NUT,M8 x 1.25, Cl 10

2шт.

5

140016

WASHER,M8 x 16mm OD x 1.6mm Thk

4шт.

6

REF

INSTRUCTION

Hood, Engine; See Figure 09-16

1шт.

7

86991034

PLUG

Axle Access

4шт.

8

87030508

BOLT,Hvy Hex, M12 x 30mm, Full Thd, Cl 10.9

12шт.

9

87368774

COVER

Plate, Cover

2шт.

10

87368777

GUARD

Guard Hose, Lower Left

1шт.

11

9840344

BOLT,Hex, 5/16" - 18 x 11/16"

Screw, Sealing

12шт.

12

87368778

GUARD

Guard Hose, Upper Left

1шт.

13

87430679

PLATE

1шт.

14

87454385

PLATE ASSY.

Floor Plate

1шт.

15

86545825

SELF-TAP SCREW,Hex Wash Hd, 5/16" x 5/8"

4шт.

16

87022737

SPACER,11.1mm ID x 15.9mm OD x 25mm L

2шт.

17

86508569

BOLT,Hex, M6 x 70mm, Cl 8.8

2шт.

18

87368776

GUARD

Guard Hose, Upper Right

1шт.

19

87368775

GUARD

Guard Hose, Lower Right

1шт.

20

H436887

CAP

Fuel; Non-Locking

1шт.

20

108925A1

FILLER CAP

Fuel; Locking; If Used

1шт.

21

257448A1

CAP

Oil Filler; Incl. 292259A1

1шт.

292259A1

SEAL

Filler Cap

1шт.

22

390516A3

LATCH

Plate; ROPS

1шт.

23

278332A1

SPRING WASHER

Spring

1шт.

24

294967A1

WASHER

1шт.

25

87381

WASHER,0.81" ID x 1.47" OD x 0.13" Thk

1шт.

26

294911A2

HOOK

Plate

1шт.

27

86500689

NUT,M10 x 1.5, Cl 10

2шт.

28

294943A1

STUD

1шт.

Выбрано товаров: 32