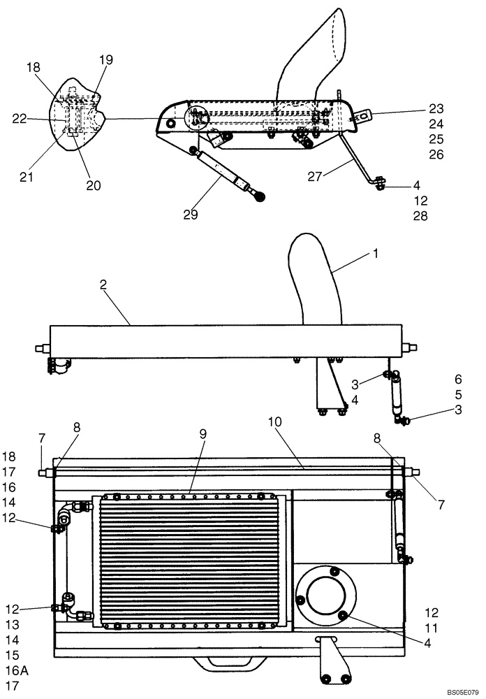
Запчасти Case 440CT (09-16A) - HOOD - AIR CONDITIONING (09) - CHASSIS

Схема запчастей Case 440CT - (09-16A) - HOOD - AIR CONDITIONING (09) - CHASSIS
4
9
15
3
18
24
20
4
19
4
22
12
14
5
8
12
6
21
12
3
8
13
17
2
28
18
27
12
7
10
17
11
23
25
16a
7
1
29
26
16
14
FIT
1:1
100%

Артикул

Название

Примечание

Количество

1

304811A1

EXTENSION,88.9 mm ID, 139.7 mm OD, 287.2 mm Length

Exhaust Extension

1шт.

1

87381264

TUBE,88.9 mm OD x 268, 63.5 mm L

Exhaust Extension; 268 mm (10.55 in) Tall;;Replaces 304811A1; If Used

1шт.

1

87725355

EXHAUST SYSTEM PIPE

Exhaust Extension; 243 mm (9.57 in) Tall; If Used

1шт.

2

87459074

HOOD

Models With Air Conditioning

1шт.

3

189609A1

BALL STUD,M8 x 1.25

M8 x 1.25

2шт.

4

9628098

NUT,M8 x 1.25, Cl 10

6шт.

5

87015284

WASHER,8.8mm ID x 21.5mm OD x 2.5mm Thk

1шт.

6

229197A1

SQUARE NUT,M8 x 1.25, Cl 8

M8

1шт.

7

87305403

SPACER,13.51mm ID x 19.05mm OD x 17.5mm Thk

3/4 x .688 Tube

2шт.

8

9635806

CIRCLIP,Ext., 0.392" Dia

2шт.

9

87515917

CONDENSER

Replaces 87441689

1шт.

10

87459075

ROD

Hood Pivot

1шт.

11

120104

BOLT,Hex, M8 x 1.25 x 20mm, Cl 8.8

3шт.

12

86625263

WASHER,9mm ID x 20mm OD x 1.6mm Thk

9-8шт.

13

386045

BOLT,Hex, M8 x 1.25 x 45mm, Cl 8.8

If Used

1шт.

13

300381

BOLT,Hex, M8 x 1.25 x 35mm, Cl 8.8

If Used

1шт.

14

9706690

NUT,M8 x 1.25, Cl 8

2шт.

15

254697A1

SPACER

1шт.

16

9827902

CLAMP,25.4mm, Coat, 10.3mm Bolt Hole, P Type

2шт.

16a

87029955

CLAMP,22.2mm, Coat, 10.3mm Bolt Hole, P Type

Replaces 9827902

2шт.

17

9804277

FLANGE NUT,Hex, M8 x 1.25, Cl 8

2шт.

18

86592710

WASHER,6.4mm ID x 17mm OD x 3mm Thk

4шт.

19

87301324

NUT,Spring, M5 x 0.8

4шт.

20

86025725

BOLT,Hex, M5 x 40mm, Cl 8.8

Replaces 86544168

4шт.

21

87013357

WASHER,5.5mm ID x 15mm OD x 1.6mm Thk

4шт.

22

87574372

SPACER,6.8mm ID x 10.3mm OD x 19mm L

1/8 Pipe X 19mm Length; Replaces 87301392

4шт.

23

406256A1

HANDLE

1шт.

24

86511827

SCREW,Phillips Drive, Pan HD, M5 x 20mm, Cl 4.8

2шт.

25

10615371

LOCK WASHER,Ext Tooth, M5

2шт.

26

86639241

NUT,Prev Torque, M5 x 0.8, Cl 8

2шт.

27

87459076

LOCKING BAR

Hood Latch

1шт.

28

43127

BOLT,Hex, M8 x 1.25 x 25mm, Cl 8.8

3шт.

29

87449854

SUPPORT

1шт.

Выбрано товаров: 33