Запчасти Case 445CT (06-29) - MOTOR ASSY - SINGLE SPEED (06) - POWER TRAIN

Схема запчастей Case 445CT - (06-29) - MOTOR ASSY - SINGLE SPEED (06) - POWER TRAIN
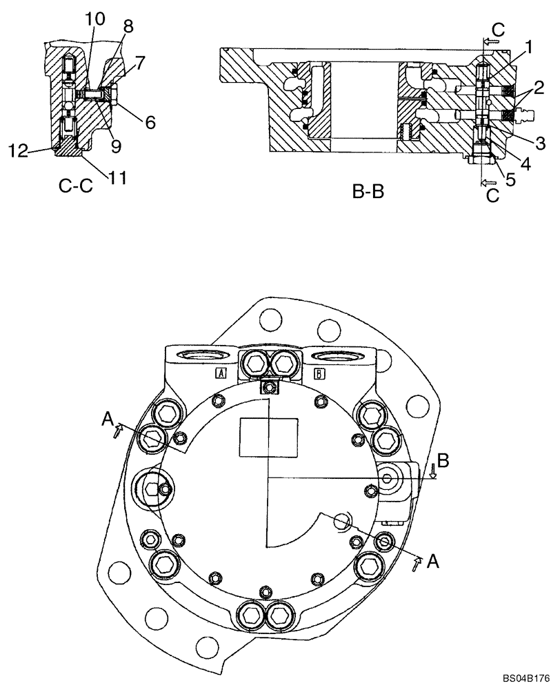
6
10
5
3
7
11
12
9
4
2
8
1
FIT
1:1
100%

Артикул

Название

Примечание

Количество

87035451

HYDRAULIC MOTOR

One Speed

2шт.

87035451R

REMAN-HYD MOTOR

Remanufactured Hydraulic Motor

2шт.

87035451C

CORE-MOTOR HYDRAULIC

Return Number

2шт.

1

87042934

SPRING

Flushing Side A

1шт.

2

NSS

NOT SOLD SEPARAT

Shear Plug; M8

2шт.

3

87042929

WASHER

1.5 Thick

1шт.

4

87042935

SPRING

Flushing Side B

1шт.

5

87042928

SPOOL

Flushing

1шт.

6

87042933

POPPET,Plug, 7/16" SAE

Plug; 7/16

1шт.

7

NSS

NOT SOLD SEPARAT

O-Ring; 8.92 x 1.83; Included In 87039370, Seal Kit, See Figure 06-30

1шт.

8

87042931

POPPET,RV 1.7 Orifice

1.7 Orifice

1шт.

9

87042932

SPRING

Flushing

1шт.

10

87042930

SHIM

0.6

1шт.

11

214389

PLUG,3/4" - 16 ORB

Flushing

1шт.

12

NSS

NOT SOLD SEPARAT

O-Ring; 11.90 x 1.98; Included In 87039370, Seal Kit, See Figure 06-30

1шт.

Выбрано товаров: 15