Запчасти Case 445CT (09-11) - CHASSIS (445CT) (09) - CHASSIS

Схема запчастей Case 445CT - (09-11) - CHASSIS (445CT) (09) - CHASSIS
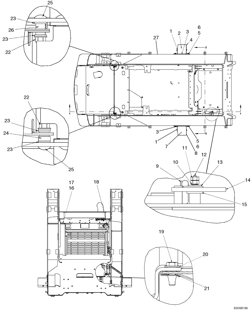
20
7
16
4
11
24
23
17
13
5
12
10
26
27
22
18
23
22
19
23
3
23
1
21
25
6
1
14
6
5
15
8
2
25
9
3
FIT
1:1
100%

Артикул

Название

Примечание

Количество

87618971

SERVICE KIT

Kit, Chassis; Incl Chassis, Fuel Cap, Hydraulic Cap And Sender Unit

1шт.

1

9840344

BOLT,Hex, 5/16" - 18 x 11/16"

12шт.

2

87460103

PLATE

Upper Left Hose Guard

1шт.

3

87459921

COVER PLATE

Center Cover

2шт.

4

87460105

PLATE

Lower Left Hose Guard

1шт.

5

140046

BELLEVILLE WASHER,M12 Bolt Size x 27mm OD x 1.8mm Thk

8шт.

6

87030508

BOLT,Hvy Hex, M12 x 30mm, Full Thd, Cl 10.9

8шт.

7

87460107

PLATE

Upper Right Hose Guard

1шт.

8

87460109

COVER PLATE

Lower Right Hose Guard

1шт.

9

294911A2

HOOK

Latch Return Plate

1шт.

10

278332A1

SPRING WASHER

1шт.

11

100016

NUT,M10 x 1.5, Cl 8

2шт.

12

294943A1

STUD

Latch Mounting Stud

1шт.

13

294967A1

WASHER

1шт.

14

294910A1

LATCH

ROPS Latch

1шт.

15

87381

WASHER,0.81" ID x 1.47" OD x 0.13" Thk

1шт.

16

H436887

CAP

Non-Locking Gas Cap

1шт.

17

108925A1

FILLER CAP

Locking Gas Cap

1шт.

18

257448A1

CAP

Hydraulic Fill Cap

1шт.

19

43127

BOLT,Hex, M8 x 1.25 x 25mm, Cl 8.8

6шт.

20

86625263

WASHER,9mm ID x 20mm OD x 1.6mm Thk

6шт.

21

122158A1

NUT,M8, U

4шт.

22

43436

FLANGE NUT,M12

2шт.

23

86625255

WASHER,13.3mm ID x 24.5mm OD x 3mm Thk

4шт.

24

87671584

SPACER

Bushing, Pivot

1шт.

25

334682

CARRIAGE BOLT,Sht Nk, M12 x 1.75 x 50mm, Cl 8.8, Full Thd

2шт.

26

87671585

SPACER

Spacer

1шт.

27

87758381

SCREW,1"

Button Socket

4шт.

Выбрано товаров: 28