Запчасти Case 445CT (02-24) - PISTON - ENGINE (87380450) (02) - ENGINE

Схема запчастей Case 445CT - (02-24) - PISTON - ENGINE (87380450) (02) - ENGINE
2
5
4
3
2
1
FIT
1:1
100%

Артикул

Название

Примечание

Количество

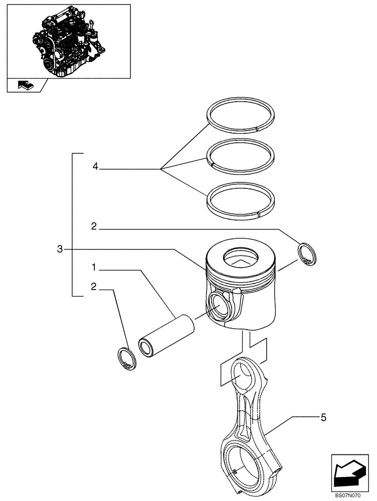
1

504047720

PISTON PIN

Pin, Piston

4шт.

2

504051611

LOCK WASHER

Lock Washer

8шт.

3

8097546

PISTON ASSY

Piston, + 0,0

4шт.

3

8097548

PISTON ASSY +0.4

Piston, +0.4

4шт.

4

8097545

PISTON RING SET

Set Of Piston Rings +0.6, + 0,0

4шт.

4

8097547

SET,PISTON RINGS+0.4

SET OF PISTON RINGS +0.4 Set Of Piston Rings +0.4

4шт.

5

REF

INSTRUCTION

See Figure 02-23, Connecting Rod

1шт.

Выбрано товаров: 7