Запчасти Case 450CT (06-32A) - PUMP, TANDEM - PRESSURE RELIEF VALVE (87546977) (PILOT CONTROL) (06) - POWER TRAIN

Схема запчастей Case 450CT - (06-32A) - PUMP, TANDEM - PRESSURE RELIEF VALVE (87546977) (PILOT CONTROL) (06) - POWER TRAIN
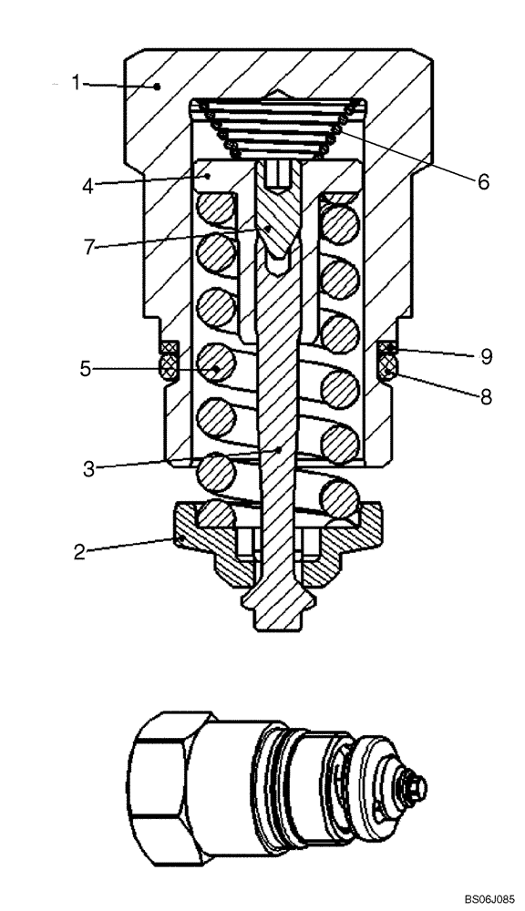
9
1
8
4
7
6
3
2
5
FIT
1:1
100%

Артикул

Название

Примечание

Количество

87546977

PUMP,46 CC

Rexroth A22; If Used; Incl. 06-32 - 06-32G

1шт.

87546977R

REMAN-HYD PUMP

Remanufactured Hydraulic Pump

1шт.

87546977C

CORE-HYDRAULIC PUMP

Return Number

1шт.

87614028

VALVE PRESSURE RELIE

Incl. 1 - 9

1шт.

1

NSS

NOT SOLD SEPARAT

Locking Screw

1шт.

2

NSS

NOT SOLD SEPARAT

Valve Collar

1шт.

3

NSS

NOT SOLD SEPARAT

Valve Spindle

1шт.

4

NSS

NOT SOLD SEPARAT

Spring Loading Nut

1шт.

5

NSS

NOT SOLD SEPARAT

Pressure Spring

1шт.

6

NSS

NOT SOLD SEPARAT

Spring, Cone Shaped

1шт.

7

NSS

NOT SOLD SEPARAT

Threaded Pin

1шт.

8

87597284

O-RING

1шт.

9

87597285

RING

Back Up

1шт.

Выбрано товаров: 0