Запчасти Case 450CT (08-07) - HYDRAULICS - COUPLER SYSTEM (08) - HYDRAULICS

Схема запчастей Case 450CT - (08-07) - HYDRAULICS - COUPLER SYSTEM (08) - HYDRAULICS
12
22a
20
10
36
13
21
20
41
28
18
27
20
35
34
15
11
25
20
1
42
24
16
26
29
19
3
39
28
27
4
37
40
5
19
31
32
14
33
23
8
2
19
22
9
17
38
6
7
8
FIT
1:1
100%

Артикул

Название

Примечание

Количество

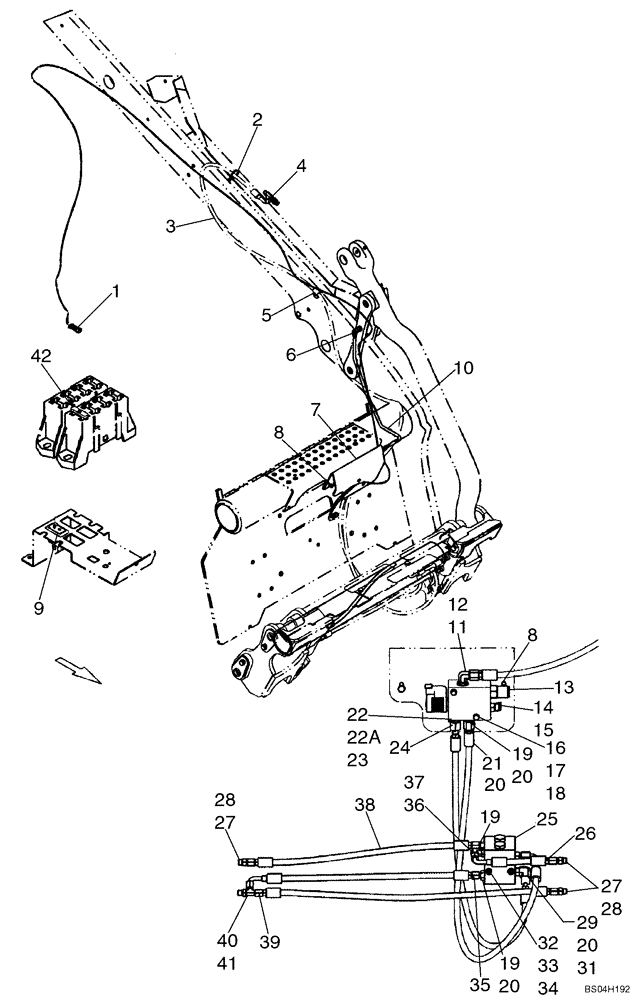
1

87446983

WIRE HARNESS

Hydraulic Coupler

1шт.

2

L18331

CABLE TIE,375.9mm L, Nylon, Black

CABLE STRAP

8шт.

3

87442731

HOSE ASSY.

Coupler Pressure

1шт.

4

129274

TEE,9/16" - 18 JIC x 9/16" - 18 JIC x 9/16" - 18 JIC

1шт.

5

86639005

CLAMP,15.9mm, Coat, 13.5mm Bolt Hole, P Type

1шт.

6

86629586

90 ELBOW,9/16" - 18 JIC x 9/16" - 18 Fem Sw

1шт.

7

87426838

BRACKET

Valve

1шт.

8

120104

BOLT,Hex, M8 x 1.25 x 20mm, Cl 8.8

2шт.

9

87042143

SWITCH

Rocker, Loader Lock

1шт.

10

87432446

HYD TUBE,9.53 mm OD x 417.8, 337.2 mm L

Coupler Drain

1шт.

11

76344

90 ELBOW,9/16" - 18 JIC x 9/16" - 18 ORB

Incl. 12

1шт.

12

9617873

O-RING,0.078" Thk x 0.468" ID, -906, Cl 6, 90 Duro

1шт.

13

87421480

HYDRAULIC VALVE

Hydraulic Coupler; Incl. 13A - 13C

1шт.

13a

87562923

VALVE

Sequence Valve Sauer No. CP240-21-B-0-A-C-270; Not Illustrated

1шт.

13b

87433496

COIL

Sauer No. 322113; Not Illustrated

1шт.

13c

87562926

VALVE

Sequence Valve Sauer No. CP538-1-U-0-12D-DE; Not Illustrated

1шт.

14

76350

HYD CONNECTOR,9/16" - 18 ORB x 9/16" - 18 JIC

Incl 15

2шт.

15

9617873

O-RING,0.078" Thk x 0.468" ID, -906, Cl 6, 90 Duro

1шт.

16

120056

BOLT,M6 x 1.0 x 54.15mm, Cl 8.8

2шт.

17

86588450

WASHER,6.6mm ID x 12mm OD x 1.6mm Thk

2шт.

18

353308

NUT,M6 x 1.0, Cl 8

2шт.

19

139398

HYD CONNECTOR,9/16" - 18 ORB x 7/16" - 20 JIC

Incl. 20

3шт.

20

9617873

O-RING,0.078" Thk x 0.468" ID, -906, Cl 6, 90 Duro

1шт.

21

87437471

HOSE ASSY.,6.35mm ID x 860mm L

1шт.

22

9993143

HYD CONNECTOR,11/16" - 16 ORFS x 9/16" - 18 ORB

Incl. 22A, 23

1шт.

22a

9993141

O-RING,0.07" Thk x 0.364" ID, -12, Cl 6, 90 Duro

1шт.

23

9617873

O-RING,0.078" Thk x 0.468" ID, -906, Cl 6, 90 Duro

1шт.

24

87426493

HOSE ASSY.,6.35mm ID x 830mm L

1шт.

25

294741A1

CHECK VALVE

1шт.

26

294747A1

HOSE ASSY.,6.35mm ID x 176mm L

Coupler Cylinder Base

1шт.

27

265235

HYD CONNECTOR,7/16" - 20 ORB x 7/16" - 20 JIC

Incl. 28

3шт.

28

165202

O-RING,0.072" Thk x 0.351" ID, -904, Cl 6, 90 Duro

1шт.

29

9840542

ELBOW,90 Degree, 9/16"-18 x 9/16"-18, Adj, ORFS

Incl. 30, 31

1шт.

30

165202

O-RING,0.072" Thk x 0.351" ID, -904, Cl 6, 90 Duro

1шт.

31

9825770

O-RING,0.07" Thk x 0.301" ID, -11, Cl 6, 90 Duro

Face Seal End

1шт.

32

86508570

BOLT,Hex, M6 x 80mm OAL, Cl 8.8

2шт.

33

87030561

NUT,M6 x 1, Cl 8

2шт.

34

86624181

WASHER,M6

4шт.

35

87437473

HOSE ASSY.

Coupler Cylinder Rod End

1шт.

36

86512934

90 ELBOW,90 Degree, 7/16"-20, 37 Degree x 9/16"-18, O-Ring

Incl. 37

2шт.

37

9617873

O-RING,0.078" Thk x 0.468" ID, -906, Cl 6, 90 Duro

1шт.

38

294884A1

HOSE ASSY.

Coupler Cylinder Base

1шт.

39

87437472

HOSE ASSY.

Coupler Cylinder Connection

1шт.

40

86513019

TEE,1-5/16" - 12 ORB x 1-1/4" JIC x 1-1/4" JIC

Incl. 41

1шт.

41

165202

O-RING,0.072" Thk x 0.351" ID, -904, Cl 6, 90 Duro

1шт.

42

A149800

FUSE,10 Amp

10 Amp, Red

1шт.

Выбрано товаров: 0