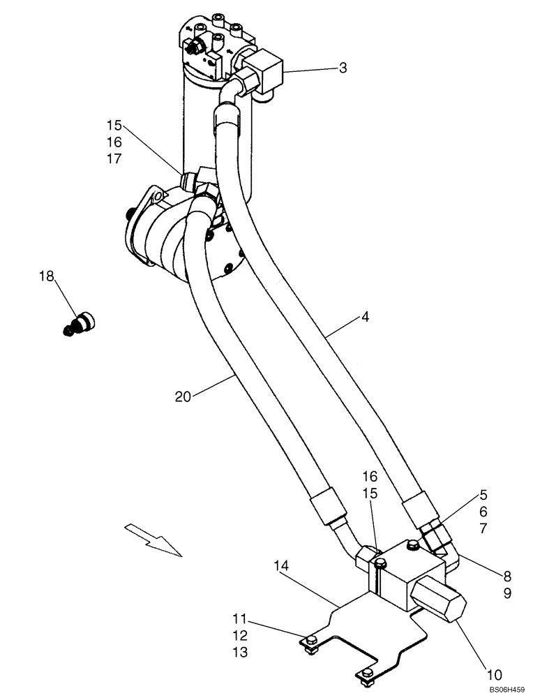
Запчасти Case 450CT (08-14B) - HIGH FLOW EXTERNAL RELIEF KIT (08) - HYDRAULICS

Схема запчастей Case 450CT - (08-14B) - HIGH FLOW EXTERNAL RELIEF KIT (08) - HYDRAULICS
20
13
9
7
3
14
18
10
17
16
15
11
4
16
8
15
12
5
6
FIT
1:1
100%

Артикул

Название

Примечание

Количество

1

87554166

SERVICE KIT

High Flow External Relief; Incl. 2 - 19

1шт.

2

87555699

INSTRUCTION

Installation

1шт.

3

129037A1

FITTING,1-5/16" - 12 ORB x 1-5/16" - 12 JIC x 1-1/16" - 12 JIC

1шт.

4

87553999

HOSE

838 mm, 33.00 in.

1шт.

5

86624185

WASHER,8.8mm ID x 17.5mm OD x 2mm Thk

4шт.

6

120062

BOLT,Hex, M8 x 70mm, Cl 8.8

2шт.

7

412250

NUT,M8 x 1.25, Cl 8

2шт.

8

322894

90 ELBOW,1-1/16" - 12 JIC x 1-1/16" - 12 ORB

Incl. 9

1шт.

9

167266

O-RING,0.116" Thk x 0.924" ID, -912, Cl 6, 90 Duro

1шт.

10

87553567

VALVE

1шт.

11

120104

BOLT,Hex, M8 x 1.25 x 20mm, Cl 8.8

2шт.

12

229197A1

SQUARE NUT,M8 x 1.25, Cl 8

2шт.

13

120103

BOLT,M8 x 1.25 x 16mm, Cl 8.8

2шт.

14

87557517

BRACKET

1шт.

15

322896

HYD CONNECTOR,1-1/16" - 12 ORB x 1-1/16" - 12 JIC

Incl 16

2шт.

16

167266

O-RING,0.116" Thk x 0.924" ID, -912, Cl 6, 90 Duro

2шт.

17

87025944

TEE

1шт.

18

87554005

VALVE

Main Relief Valve

1шт.

19

291308

SEALING STRIP,0.75" W x 0.5" Thick

Sealing Strip; 81 mm, 3.19 in. Required

1шт.

20

87554000

HOSE

686 mm, 27.01 in.

1шт.

Выбрано товаров: 20