Запчасти Case 450CT (08-37) - CONTROL VALVE - SPOOL END GROUP, EHPV (08) - HYDRAULICS

Схема запчастей Case 450CT - (08-37) - CONTROL VALVE - SPOOL END GROUP, EHPV (08) - HYDRAULICS
6
1
3
3
2
4
1
5
5
7
7
6
4
2
FIT
1:1
100%

Артикул

Название

Примечание

Количество

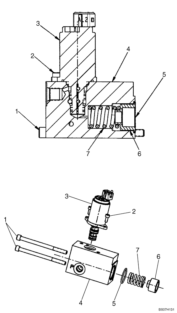
87546975

HYDRAULIC VALVE

Manual Control Valve; Pilot Control Models With Hydraulic Attachment; Incl. Figures 08-21B - 08-24, 08-28, 08-30, 08-32 - 08-37

1шт.

87611846

SPOOL

Spool End Group, EHPV; Incl. 1 - 7

1шт.

1

NSS

NOT SOLD SEPARAT

Cap Screw

2шт.

2

NSS

NOT SOLD SEPARAT

Cap Screw

2шт.

3

87576154

SOLENOID

Proportional Pressure Reducing

1шт.

4

NSS

NOT SOLD SEPARAT

End Cap

1шт.

5

NSS

NOT SOLD SEPARAT

O-Ring

1шт.

6

NSS

NOT SOLD SEPARAT

Spring Seat

1шт.

7

NSS

NOT SOLD SEPARAT

Spring

1шт.

Выбрано товаров: 0