Запчасти Case 450CT (09-13) - LINKAGE - AUXILIARY SYSTEM (09) - CHASSIS

Схема запчастей Case 450CT - (09-13) - LINKAGE - AUXILIARY SYSTEM (09) - CHASSIS
5
9
8
20
14
1
16
13
15
1
21
19
1b
1a
11
2
23
7
17
6
1
22
12
1c
8
3
1
18
10
3
FIT
1:1
100%

Артикул

Название

Примечание

Количество

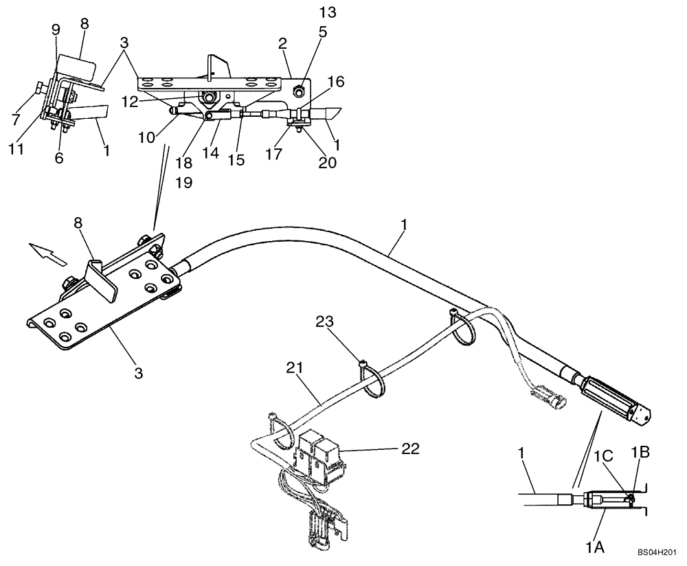
1

87423811

CABLE ASSY.

Incl. 1A - 1C

1шт.

1a

87426583

BRACKET

1шт.

1b

87033644

CLEVIS PIN,3/16" x .719"

1шт.

1c

280236

COTTER PIN,1/16" x 1/2"

1шт.

2

87423814

SUPPORT ASSY.

Mounting

1шт.

3

87423833

PEDAL ASSY.

If Used

1шт.

3

87741562

PEDAL

1шт.

5

86512446

CARRIAGE BOLT,M10 x 1.5 x 30mm, Cl 8.8

1шт.

6

895-11012

WASHER,13.5mm ID x 24mm OD x 2.5mm Thk

If Used

1шт.

6

140018

WASHER,13.5mm ID x 24mm OD x 2.5mm Thk

1шт.

7

811-12055

CARRIAGE BOLT,Sht Sq Nk, M12 x 1.75 x 55mm, Cl 8.8

1шт.

8

87446614

LEVER

Pedal Lock

1шт.

9

283839A1

SPACER

Rubber

1шт.

10

302960A2

SPRING

1шт.

11

L14781

BUSHING,12.8mm ID x 15.94mm OD x 25.4mm L

Bronze

1шт.

12

412672

NUT,Hex, M12 x 1.75, Cl 10

1шт.

13

86512554

NUT,M10 x 1.5, Cl 10

1шт.

14

86520436

ADJUSTABLE CLEVIS,1/4" - 28

1шт.

15

425-154

JAM NUT,Jam, 1/4"-28, G5

If Used

1шт.

15

86976064

JAM NUT,Jam, 1/4"-28, G5

1шт.

16

87442439

ROD

U-Bolt

1шт.

17

H373779

LARGE PLATE

PLATE, LARGE Spacer

1шт.

18

427-4077

CLEVIS PIN,1/4" x .770"

If Used

1шт.

18

234726

CLEVIS PIN,6.29mm OD x 20mm L

1шт.

19

D131983

COTTER PIN,1.04mm OD x 21.4mm L, Ring

1шт.

20

87030561

NUT,M6 x 1, Cl 8

If Used

2шт.

20

86512440

NUT,M6, Cl 10

2шт.

21

87439242

HARNESS

Auxiliary Hydraulic Interlock; Incl. Diode 774735

1шт.

774735

DIODE,6A

1шт.

22

314451A1

RELAY

40 Amp; If Used; MFG # On Case 4RD 931 680-01

2шт.

22

87355337

RELAY,12V, 45A

45 Amp; MFG # Stamped On Case - 4RD 931 680-01; If Used

2шт.

22

87436836

RELAY,12V, 40 Amp

40 Amp; If Used; MFG # On Case ACB16221; If Used

2шт.

23

529070

CABLE TIE,368.3mm L

CABLE STRAP

3шт.

23

L11541

CABLE TIE,203.2mm L, Nylon

CABLE STRAP Black

3шт.

Выбрано товаров: 34