Запчасти Case 450CT (02-23) - PISTONS - CONNECTING ROD (02) - ENGINE

Схема запчастей Case 450CT - (02-23) - PISTONS - CONNECTING ROD (02) - ENGINE
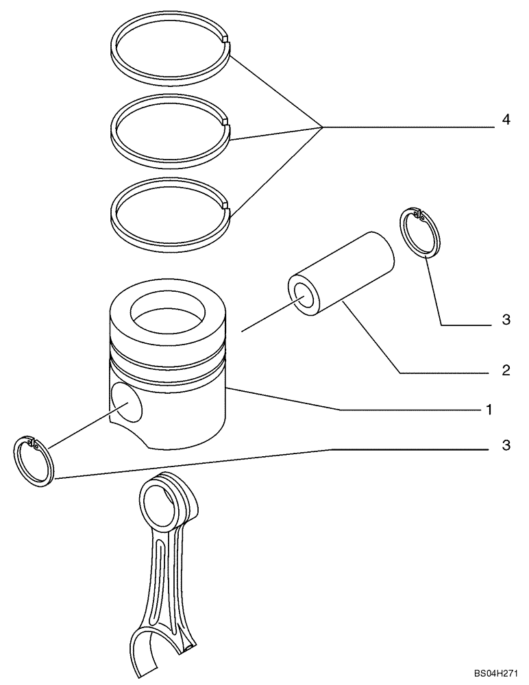
1
2
3
3
4
FIT
1:1
100%

Артикул

Название

Примечание

Количество

87647549

PISTON & RINGS KIT

STD, Incl Piston 2855531, Top Compression Ring 2853805, Second Compression Ring 2830158, Oil Control Ring 2852037, Piston Pin 4892712, And Retainer 2854030

1шт.

87647550

PISTON & RINGS KIT

0.4 mm Oversize, Incl Piston 2856484, Top Compression Ring 2854141, Second Compression Ring 2830159, Oil Control Ring 2853875, Piston Pin 4892712, And Retainer 2854030

1шт.

87647551

PISTON & RINGS KIT

0.8 mm Oversize, Incl Piston 2856485, Top Compression Ring 2854142, Second Compression Ring 2830160, Oil Control Ring 2853876, Piston Pin 4892712, And Retainer 2854030

1шт.

87582179

PISTON RINGS KIT

STD; Incl. Top Cmpression Ring 2854603, Second Compression Ring 2830158, Oil Control Ring 2852037

1шт.

87582180

PISTON RINGS KIT

0.4 mm Oversize; Incl. Top Cmpression Ring 2856713, Second Compression Ring 2830159, Oil Control Ring 2853875

1шт.

87582181

PISTON RINGS KIT

0.8 mm Oversize; Incl. Top Cmpression Ring 2856714, Second Compression Ring 2830160, Oil Control Ring 2853876

1шт.

1

2855531

PISTON

Does not include rings; Replaces 4897980

4шт.

2

4892712

PISTON PIN,38mm OD x 82mm L

4шт.

3

4892713

SNAP RING,Int, M26.4

8шт.

3

2854030

SNAP RING,M40.8 OD

Alternate part to 4892713

8шт.

4

2854603

PISTON RING

Ring, Wear

4шт.

4

2853805

PISTON RING

Ring, Wear; Alternate, Serial Range: Part-2854603

4шт.

4

2830158

PISTON RING,95.4mm ID x 104mm OD x 2.39mm Thk

Compression; 2.39 mm Wide; Yellow Identification Mark

4шт.

4

2852037

SEAL,95.3mm ID x 104mm OD x 4mm Thk

Compression; 3.00 mm Wide; Red Identification Mark

4шт.

Выбрано товаров: 14