Запчасти Case 450CT (04-07A) - SWITCH ASSY - OIL PRESSURE (04) - ELECTRICAL SYSTEMS

Схема запчастей Case 450CT - (04-07A) - SWITCH ASSY - OIL PRESSURE (04) - ELECTRICAL SYSTEMS
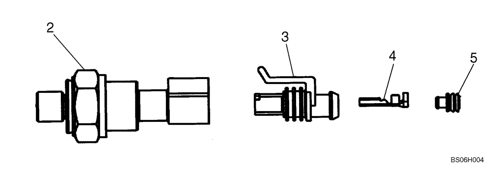
4
5
2
3
FIT
1:1
100%

Артикул

Название

Примечание

Количество

1

87572308

KIT

Kit; Oil Pressure Switch; Incl. 2 - 5 And Instructions

1шт.

2

2852735

PRESSURE SWITCH,Oil Pressure

Oil Pressure

1шт.

3

8602417

TERMINAL CONNECTOR,Female

1шт.

4

370473A1

CONNECTION,ELECTRIC

1шт.

5

87406998

SEAL

1шт.

Выбрано товаров: 5