Запчасти Case 450CT (06-19) - HYDROSTATICS - TWO SPEED, VALVE ASSY (450CT WITH PILOT CONTROL) (06) - POWER TRAIN

Схема запчастей Case 450CT - (06-19) - HYDROSTATICS - TWO SPEED, VALVE ASSY (450CT WITH PILOT CONTROL) (06) - POWER TRAIN
5
10a
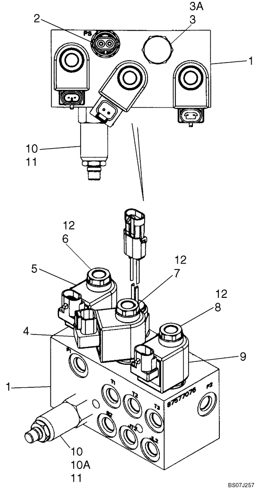
1
9
3
11
4
2
1
7
11
12
3a
6
8
10
10
12
12
FIT
1:1
100%

Артикул

Название

Примечание

Количество

1

87577076

PILOT VALVE

Brake Valve; Two Speed; Incl. 1 - 12

1шт.

2

87458061

PRESSURE SWITCH

Brake Valve; Incl. O-Ring Which Is Not Serviced Separately

1шт.

3

87614009

VALVE

Cartridge Valve

1шт.

3a

87614015

SEAL KIT

Seal Kit For Cartridge Valve

1шт.

4

87588596

SOLENOID

1шт.

5

87588597

SOLENOID

1шт.

6

87588585

SOLENOID VALVE

1шт.

7

87588579

SOLENOID VALVE

1шт.

8

87614011

SOLENOID VALVE

1шт.

9

87614012

COIL

1шт.

10

87352527

VALVE

Sequence

1шт.

11

87426545

ORIFICE

.017 Sauer

1шт.

12

87614013

SEAL KIT

Solenoid Valve

1шт.

Выбрано товаров: 13