Запчасти Case 450CT (06-23) - PUMP, TANDEM - PRESSURE RELIEF VALVE (87546977) (06) - POWER TRAIN

Схема запчастей Case 450CT - (06-23) - PUMP, TANDEM - PRESSURE RELIEF VALVE (87546977) (06) - POWER TRAIN
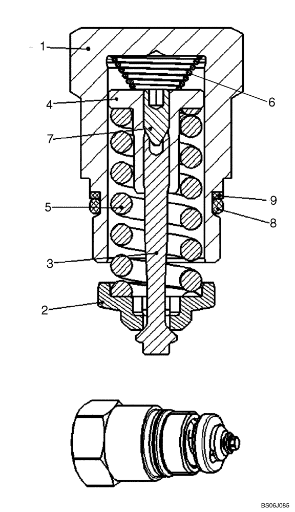
9
6
7
2
5
4
8
1
3
FIT
1:1
100%

Артикул

Название

Примечание

Количество

87614028

VALVE PRESSURE RELIE

Incl. 1 - 9

1шт.

1

NSS

NOT SOLD SEPARAT

Locking Screw

1шт.

2

NSS

NOT SOLD SEPARAT

Valve Collar

1шт.

3

NSS

NOT SOLD SEPARAT

Valve Spindle

1шт.

4

NSS

NOT SOLD SEPARAT

Spring Loading Nut

1шт.

5

NSS

NOT SOLD SEPARAT

Pressure Spring

1шт.

6

NSS

NOT SOLD SEPARAT

Spring, Cone Shaped

1шт.

7

NSS

NOT SOLD SEPARAT

Threaded Pin

1шт.

8

87597284

O-RING

O-Ring

1шт.

9

87597285

RING

Back Up

1шт.

Выбрано товаров: 10