Запчасти Case 450CT (08-25) - CONTROL VALVE - SPOOL END GROUP (08) - HYDRAULICS

Схема запчастей Case 450CT - (08-25) - CONTROL VALVE - SPOOL END GROUP (08) - HYDRAULICS
6
1
5
8
2
3
3
1
4
8
6
7
7
1
4
4
2
5
FIT
1:1
100%

Артикул

Название

Примечание

Количество

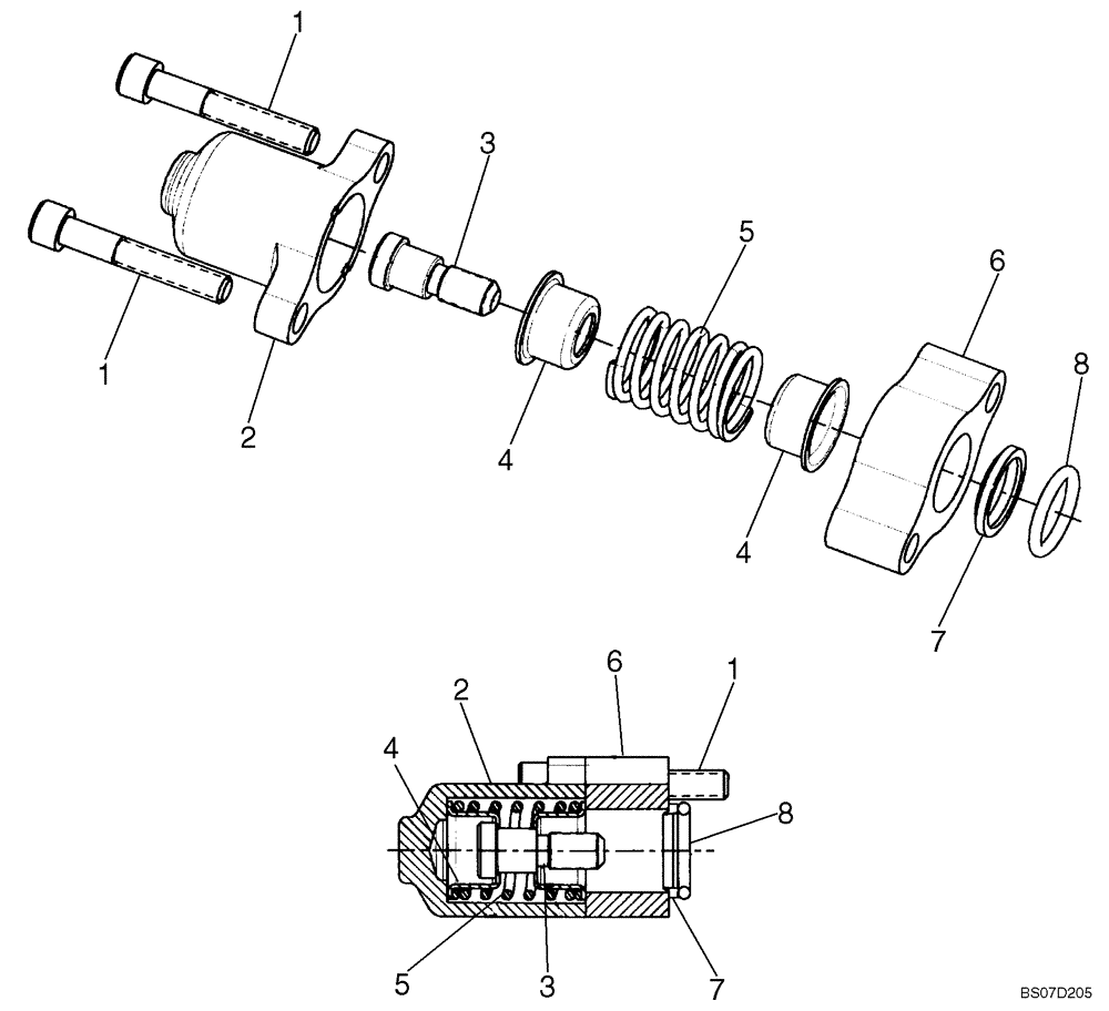
87576168

SPOOL

Spool End Group; Incl. 1 - 8

1шт.

1

NSS

NOT SOLD SEPARAT

Cap Screw

2шт.

2

NSS

NOT SOLD SEPARAT

Spool Cap

1шт.

3

NSS

NOT SOLD SEPARAT

Spool End

1шт.

4

NSS

NOT SOLD SEPARAT

Spring Seat

2шт.

5

NSS

NOT SOLD SEPARAT

Spring

1шт.

6

NSS

NOT SOLD SEPARAT

Plate - Seal

1шт.

7

NSS

NOT SOLD SEPARAT

Wiper

1шт.

8

NSS

NOT SOLD SEPARAT

O-Ring

1шт.

Выбрано товаров: 9