Запчасти Case 450CT (08-35) - SECONDARY FRONT AUXILIARY - VALVE ASSY (08) - HYDRAULICS

Схема запчастей Case 450CT - (08-35) - SECONDARY FRONT AUXILIARY - VALVE ASSY (08) - HYDRAULICS
4
12
9
2
8
3
11
16
8
5
17
7
8
3
18
11
14
6
5
25
1
6
7
10
12
10
4
FIT
1:1
100%

Артикул

Название

Примечание

Количество

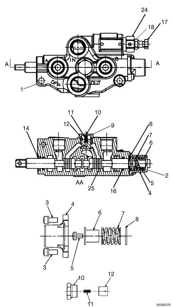
1

87017348

VALVE

Secondary Auxiliary Valve; Incl 2 - 25

1шт.

2

87455274

SPRING KIT

Spring Center Kit; Incl 3 - 8

1шт.

3

NSS

NOT SOLD SEPARAT

Screw

2шт.

4

NSS

NOT SOLD SEPARAT

End Cap

1шт.

5

NSS

NOT SOLD SEPARAT

Screw

1шт.

6

NSS

NOT SOLD SEPARAT

Spacer

1шт.

7

NSS

NOT SOLD SEPARAT

Spring

1шт.

8

NSS

NOT SOLD SEPARAT

Washer

1шт.

9

87455257

KIT

Load Check Kit; Incl 10 - 12

1шт.

10

NSS

NOT SOLD SEPARAT

Check Plug

1шт.

11

NSS

NOT SOLD SEPARAT

Load Check Spring

1шт.

12

NSS

NOT SOLD SEPARAT

Poppet, Load Check

1шт.

13

87455258

SEAL KIT

Seal Kit; Incl 14 - 23

1шт.

14

NSS

NOT SOLD SEPARAT

Wiper Ring

1шт.

15

NSS

NOT SOLD SEPARAT

O-Ring; Not Illustrated

1шт.

16

NSS

NOT SOLD SEPARAT

O-Ring; Not Illustrated

2шт.

17

NSS

NOT SOLD SEPARAT

Adjustment Screw

1шт.

18

NSS

NOT SOLD SEPARAT

Lock Nut

1шт.

19

NSS

NOT SOLD SEPARAT

O-Ring; Not Illustrated

1шт.

20

NSS

NOT SOLD SEPARAT

O-Ring; Not Illustrated

1шт.

21

NSS

NOT SOLD SEPARAT

O-Ring; Not Illustrated

1шт.

22

NSS

NOT SOLD SEPARAT

Backup O-Ring; Not Illustrated

1шт.

23

NSS

NOT SOLD SEPARAT

Backup O-Ring; Not Illustrated

1шт.

24

NSS

NOT SOLD SEPARAT

Relief Valve Assembly

1шт.

25

NSS

NOT SOLD SEPARAT

Spool

1шт.

Выбрано товаров: 25