Запчасти Case 450CT (09-07) - BUCKETS, LOADER - 2083 MM (82 IN) WIDE BUCKET (09) - CHASSIS

Схема запчастей Case 450CT - (09-07) - BUCKETS, LOADER - 2083 MM (82 IN) WIDE BUCKET (09) - CHASSIS
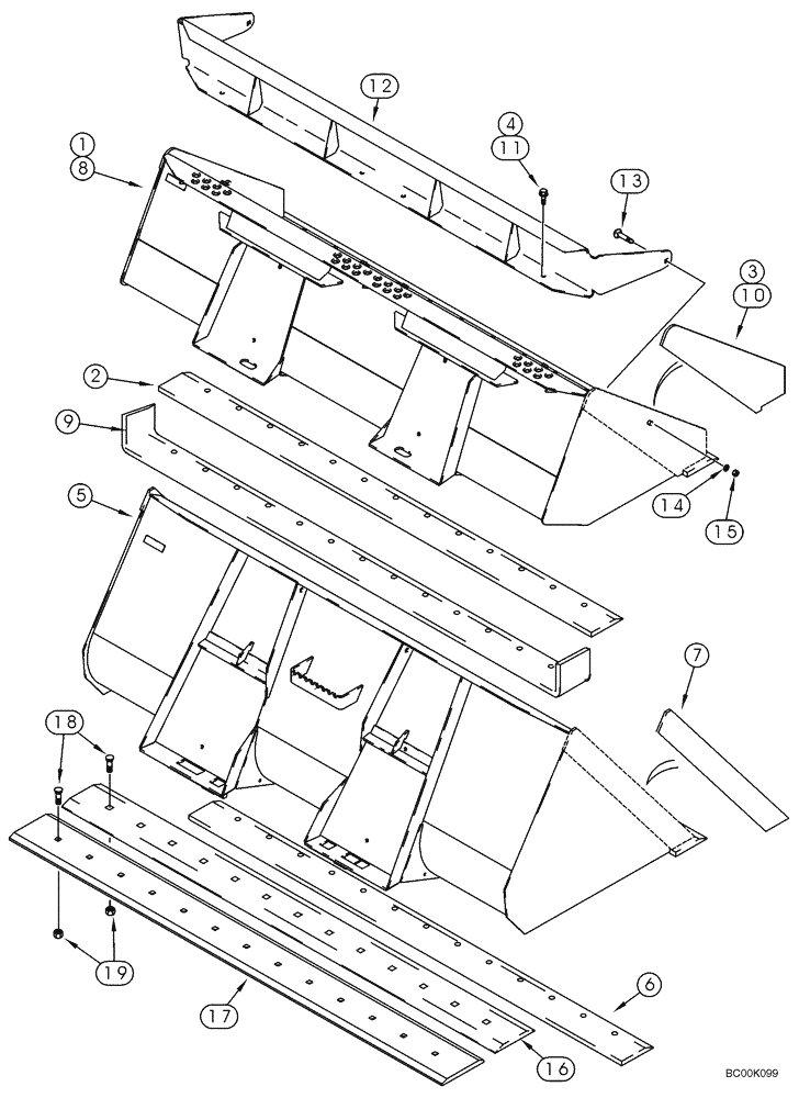
15
4
12
8
7
17
18
9
6
16
14
2
11
5
13
1
19
3
10
FIT
1:1
100%

Артикул

Название

Примечание

Количество

REF

INSTRUCTION

2083 mm (82 in) WIDE BUCKET

1шт.

1

192538A2

BUCKET

2083 mm (82 in); Machinery Item; Incl. 2, 3

1шт.

2

183948A2

EDGE, CUTTING

Welded On

1шт.

3

245109A2

EDGE, CUTTING

Side; Welded On

2шт.

4

857-12030

BOLT,Hvy Hex, M12 x 30mm, Cl 10.9

4шт.

REF

INSTRUCTION

LIGHT MATERIAL

1шт.

5

190079A1

BUCKET

BUCKET 2083 mm (82 in); Machinery Item; Order From WholeGoods; Incl. 6, 7

1шт.

6

183948A2

EDGE, CUTTING

Welded On

1шт.

7

H438935

EDGE, CUTTING

Side; Welded On

2шт.

REF

INSTRUCTION

HEAVY DUTY

1шт.

8

245077A2

BUCKET

2083 mm (82 In); Machinery Item; Incl. 9 - 11

1шт.

9

245107A2

EDGE, CUTTING

Welded On

1шт.

10

245109A2

EDGE, CUTTING

Side; Welded On

2шт.

11

857-12030

BOLT,Hvy Hex, M12 x 30mm, Cl 10.9

4шт.

REF

INSTRUCTION

EXTENSION

1шт.

12

192972A2

RISER

Used With 192538A2, 245077A2

1шт.

13

811-12035

CARRIAGE BOLT,Sht Sq Nk, M12 x 1.75 x 35mm, Cl 8.8

2шт.

14

86625256

WASHER,13.3mm ID x 28.5mm OD x 4mm Thk

2шт.

15

829-1412

NUT,M12, Cl 10.9

2шт.

REF

INSTRUCTION

BOLT-ON CUTTING EDGE

1шт.

16

299336A1

EDGE, CUTTING

2083 mm (82 in); Ten Hole Pattern

1шт.

17

248932A1

EDGE, CUTTING

2083 mm (82 In); Thirteen Hole Pattern

1шт.

18

420-21236

CARRIAGE BOLT,#3, 3/4" - 10 x 2 1/4", Gr 8

Used With 16

10шт.

18

420-21036

CARRIAGE BOLT,#3, 5/8" - 11 x 2 1/4", Gr 8

Used with 17

13шт.

19

329-1012

NUT,3/4"-10, G8

Used with 16

10шт.

19

329-1010

NUT,5/8"-11, G8

Used with 17

13шт.

Выбрано товаров: 26