Запчасти Case TR270 (10.216.AI) - FUEL SYSTEM F5C (SR200,TR270) (10) - ENGINE

Схема запчастей Case TR270 - (10.216.AI) - FUEL SYSTEM F5C (SR200,TR270) (10) - ENGINE
3
22
9
32
16
11
14
27
33
15
23
8
34
30
28
18
1
10
24
29
6
17
20
5
12
7
31
13
19
4
21
2
26
25
FIT
1:1
100%

Артикул

Название

Примечание

Количество

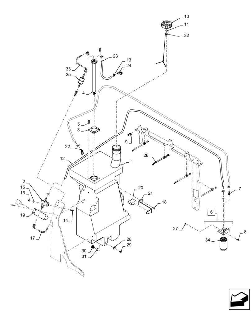
1

84239312

FUEL TANK

Fuel

1шт.

2

84306974

FUEL PUMP,12V, 1.4A

Electric Lift

1шт.

3

84338049

MOUNTING PLATE

Sender, Retaining

1шт.

4

84268571

SENDER UNIT

Fuel

1шт.

5

9804257

FLANGE BOLT,Hex, M6 x 1.0 x 25mm, Cl 8.8, Full Thd

4шт.

6

84299976

FILTER ASSY

Assy, Incl 34

1шт.

7

9844342

FITTING,7/16" - 20 x 8mm Hose x 41.90mm OAL, Incl O-Ring

2шт.

8

9804256

BOLT,Hex, M6 x 1 x 20mm, Full Thd, Cl 8.8

2шт.

9

NSS

NOT SOLD SEPARAT

Edge, Channel, 85.3mm

1шт.

10

48088756

W/ Check Valve

FILLER CAP

1шт.

11

84367737

LOCK WASHER,22.6mm OD x 1.27mm Thk

Fuel Cap Locking

1шт.

12

290323

HOSE,5/16" ID x 500 FT L, SAE 30R7

1шт.

13

87436932

CLAMP,13.9mm - 15.5mm, Spring

6шт.

14

120100

BOLT,M6 x 20mm, Cl 8.8

2шт.

15

87655041

SPECIAL WASHER,6.85mm ID x 13.5mm OD x 2mm Thk

2шт.

16

9804276

FLANGE NUT,Hex, M6 x 1, Cl 8

2шт.

17

84305876

FUEL TUBE

Plastic

1шт.

18

87030529

SELF-TAP SCREW,HWH, 3/8" - 16 x 7/8"

4шт.

19

84273624

BRACKET

Fuel Tank

1шт.

20

84373790

FOAM

Pad

2шт.

21

47710480

BRACKET

Tank

1шт.

22

84350217

FITTING,Fuel, 90 Degree Elbow, 5/16" Hose Barb x 5/16" Voss

2шт.

23

84305872

FUEL TUBE

Plastic, Above Inline Fuel Filter

1шт.

24

84350218

FITTING,Fuel, 90 Degree Elbow, 5/16" Hose Barb x 3/8" Voss

1шт.

25

87548612

FUEL FILTER

Inline, Years: -16-JUN-13

1шт.

25

47462791

FUEL FILTER

Inline, Start Year: 17-JUN-13

1шт.

26

84259663

CABLE TIE,228.6mm L, Nylon, Black

4шт.

27

86619800

FLANGE NUT,M6 x 1, Cl 8

2шт.

28

1251791C1

JAM NUT,3/4" - 16 LH Thread

Fuel Tank Drain Fitting

1шт.

29

87694594

BOLT,3/4" - 16 LH Thread External, 1/4" - 18 NPTF Internal

Fuel Tank Drain Fitting

1шт.

30

9576801

PLUG,1/4" - 18 NPT

1шт.

31

238-5210

O-RING,0.139" Thk x 0.734" ID, -210, Cl 5, 75 Duro

1шт.

32

84370069

CHAIN

Fuel Cap

1шт.

33

84305872

FUEL TUBE

Plastic

1шт.

34

84299977

ELEMENT

Fuel Filter

1шт.

Выбрано товаров: 35