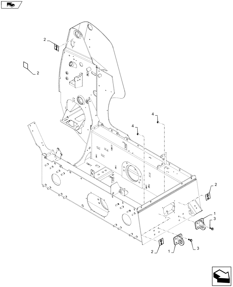
Запчасти Case TR270 (39.100.AT) - LIFT HOOKS, 4 POINT, EURO ONLY (39) - FRAMES AND BALLASTING

Схема запчастей Case TR270 - (39.100.AT) - LIFT HOOKS, 4 POINT, EURO ONLY (39) - FRAMES AND BALLASTING
2
3
4
1
2
3
home
2
1
2
4
FIT
1:1
100%

Артикул

Название

Примечание

Количество

1

84416489

BRACKET

Front Lift Hook

2шт.

2

139729A1

DECAL

Lift Hook

4шт.

3

87695413

BOLT,M12 x 51.8mm, Cl 10.9

8шт.

4

86512497

FLANGE NUT,M12 x 1.75, Cl 10

8шт.

Выбрано товаров: 4