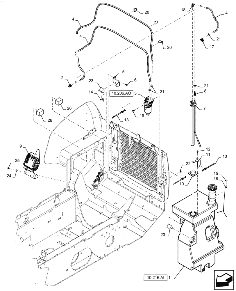
Запчасти Case TR320 (10.216.AI) - FUEL TANK & ASSOCIATED PARTS (4-OCT-2013 & NEWER) (10) - ENGINE

Схема запчастей Case TR320 - (10.216.AI) - FUEL TANK & ASSOCIATED PARTS (4-OCT-2013 & NEWER) (10) - ENGINE
10.216.ai
23
21
23
4
20
22
17
11
13
10
5
18
12
26
20
21
15
24
19
7
4
21
2
8
1
25
14
13
6
26
4
3
9
16
10.206.ao
FIT
1:1
100%

Артикул

Название

Примечание

Количество

1

47477757

FUEL TANK

Assy

1шт.

2

47566816

FITTING,Fuel, 5/16" Hose Barb x 11.8mm J2044

1шт.

3

47542915

FUEL FILTER

Prime Pump Assy

1шт.

4

290323

HOSE,5/16" ID x 500 FT L, SAE 30R7

Fuel Line, OAL 14.8 FT

1шт.

5

87054825

SUPPORT

Fuel Tank

1шт.

6

280476

SELF-TAP SCREW,HWH, 3/8"-16 x 1"

2шт.

7

47747587

SENDER UNIT

Fuel

1шт.

8

84350218

FITTING,Fuel, 90 Degree Elbow, 5/16" Hose Barb x 3/8" Voss

1шт.

9

47800654

BRACKET

ECU Mounting

1шт.

10

84338049

MOUNTING PLATE

Fuel Sender Unit

1шт.

11

47800557

BRACKET

Fuel Line Routing

1шт.

12

9804256

BOLT,Hex, M6 x 1 x 20mm, Full Thd, Cl 8.8

4шт.

13

84259663

CABLE TIE,228.6mm L, Nylon, Black

5шт.

14

87702286

TRIM,Bulk, 1/8" x 30480mm L

OAL 80mm

1шт.

15

84367737

LOCK WASHER,22.6mm OD x 1.27mm Thk

1шт.

16

84370069

CHAIN

Fuel Cap

1шт.

17

84553918

FITTING,90 Degree Quick Connect, 9.89mm Hose Bead

1шт.

18

84350217

FITTING,Fuel, 90 Degree Elbow, 5/16" Hose Barb x 5/16" Voss

1шт.

19

9804260

BOLT,Hex, M8 x 1.25 x 30mm, Full Thd, Cl 8.8

2шт.

20

L11541

CABLE TIE,203.2mm L, Nylon

5шт.

21

87436932

CLAMP,13.9mm - 15.5mm, Spring

6шт.

22

87037711

SPRING NUT,U, Multi-Thd Sht, M8 x 1.25, PLN

2шт.

23

84602030

PAD

Foam Insulation

2шт.

24

86624144

WASHER,0.41" ID x 0.75" OD x 0.12" Thk

2шт.

25

87030529

SELF-TAP SCREW,HWH, 3/8" - 16 x 7/8"

2шт.

26

47357144

FOAM INSULATION,70mm L x 50.8mm W x 50.8mm H

Deck

2шт.

Выбрано товаров: 26