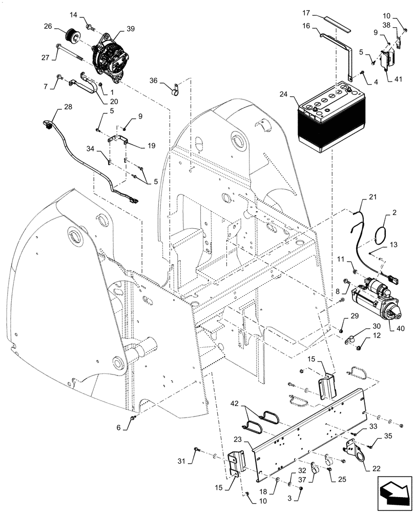
Запчасти Case TR340 (55.302.AV) - ENGINE ELECTRICAL (55) - ELECTRICAL SYSTEMS

Схема запчастей Case TR340 - (55.302.AV) - ENGINE ELECTRICAL (55) - ELECTRICAL SYSTEMS
38
16
12
1
20
17
21
37
24
31
18
32
5
13
15
39
2
8
29
25
9
9
5
6
10
3
4
28
34
36
42
41
10
7
33
23
14
40
15
30
5
11
27
22
35
19
26
FIT
1:1
100%

Артикул

Название

Примечание

Количество

1

43435

FLANGE NUT,Hex, M10 x 1.5

1шт.

2

263117

CABLE TIE,292.1mm L, Nylon, Black

1шт.

3

412250

NUT,M8 x 1.25, Cl 8

4шт.

4

9804255

BOLT,Hex, M6 x 1 x 16mm, Full Thd, Cl 8.8

1шт.

5

9804256

BOLT,Hex, M6 x 1 x 20mm, Full Thd, Cl 8.8

5шт.

6

9804258

BOLT,Hex, M8 x 1.25 x 20mm, Cl 8.8

4шт.

7

9804261

BOLT,Hex, M10 x 25mm, Cl 8.8, Full Thd

2шт.

8

9804262

BOLT,M10 x 39.2mm, Cl 8.8

3шт.

9

9804276

FLANGE NUT,Hex, M6 x 1, Cl 8

3шт.

10

9804277

FLANGE NUT,Hex, M8 x 1.25, Cl 8

6шт.

11

9804278

FLANGE NUT,M10 x 1.5, Cl 8

1шт.

12

9804279

FLANGE NUT,Hex, M12, Cl 8

1шт.

13

10445821

SCREW,Hex, M4 x 8mm, Cl 8.8, Full Thd

1шт.

14

47375979

FLANGE BOLT,1/2" - 13 x 1-1/2", Gr 8

1шт.

15

47608342

BRACKET

Angle, ECU, Gray

2шт.

16

47657937

ANGLE

Battery Retaining, Gray

1шт.

17

47658963

FOAM,6.35mm x 20mm x 175mm

1шт.

18

47699443

WASHER,8.74mm ID x 22.2mm OD x 2mm Thk, Teflon

8шт.

19

47706689

BRACKET

Harness Retntion, Gray

1шт.

20

47714105

GROUND CABLE

Alternator

1шт.

21

47765896

WIRE HARNESS

Starter-Alternator Jumper

1шт.

22

47920901

BRACKET

Bulkhead Mounting

1шт.

23

47920932

ANGLE

ECU Mounting

1шт.

24

84183283

WET BATTERY,Grp 31, 1000 CCA, 12V, 219.46mm H x 172.70mm W x 329.69mm L, Threaded Post

1шт.

25

84285339

SELF-TAP SCREW,Hex, M8 x 1.25 x 15mm

2шт.

26

84409052

PULLEY,66mm OD

1шт.

27

84526231

BOLT,Hex, M12 x 170mm, Cl 10.9

1шт.

28

84529949

WIRE HARNESS

Fuel Filter Jumper

1шт.

29

86505868

SERRATED NUT,Hex, M8 x 1.25, Cl 8

1шт.

30

86598598

CLAMP,19mm, Insulated, 13.5mm Bolt Hole - P Type

1шт.

31

86625201

SELF-TAP SCREW,M8 x 1.25 x 30mm L

4шт.

32

86625263

WASHER,9mm ID x 20mm OD x 1.6mm Thk

4шт.

33

87016558

SELF-TAP SCREW,Hex Flng, M6 x 1 x 25mm

4шт.

34

87016585

NUT,Spring, M6 x 1

2шт.

35

87017606

SELF-TAP SCREW,Hex Flng, M6 x 1 x 20mm

3шт.

36

87032428

CLAMP,22.2mm, Coat, 10.3mm Bolt Hole, J Type

1шт.

37

87035382

CLAMP,30.2mm, Coat, 10.3mm Bolt Hole, P Type

2шт.

38

87472238

FUSE,60A, Blade

1шт.

39

48102484

Assy

ALTERNATOR,14V, 80A(1800 RPM)

1шт.

40

5801577138

STARTER MOTOR,12V, 3.2kW

1шт.

41

440038A1

JUNCTION BLOCK

Fuse

1шт.

42

L18331

CABLE TIE,375.9mm L, Nylon, Black

9шт.

Выбрано товаров: 42