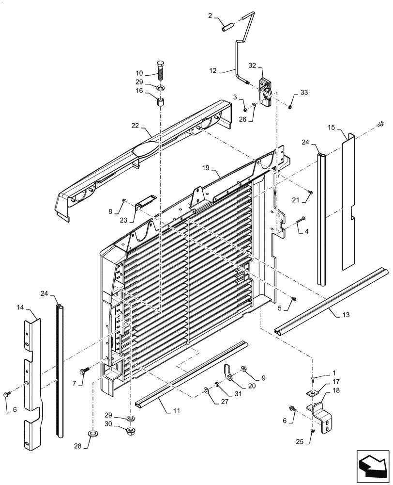
Запчасти Case TR340 (90.100.BE[01]) - HD REAR DOOR (90) - PLATFORM, CAB, BODYWORK AND DECALS

Схема запчастей Case TR340 - (90.100.BE[01]) - HD REAR DOOR (90) - PLATFORM, CAB, BODYWORK AND DECALS
16
17
14
29
26
15
12
25
10
29
1
6
11
27
18
24
31
2
4
5
23
21
24
22
9
28
33
20
3
19
7
32
8
30
13
6
FIT
1:1
100%

Артикул

Название

Примечание

Количество

1

43653

SCREW,Phillips Drive, Flat HD, M6 x 20mm, Cl 4.8

1шт.

2

290323

HOSE,5/16" ID x 500 FT L, SAE 30R7

Cut to Length, 48.77mm L

1шт.

3

393392

LOCK NUT,Prev Torque, M6 x 1, Cl 8

4шт.

4

412327

CARRIAGE BOLT,Short Sq Nk, M6 x 1 x 40mm, Full Thd, Cl 8.8

4шт.

5

9804255

BOLT,Hex, M6 x 1 x 16mm, Full Thd, Cl 8.8

4шт.

6

9804258

BOLT,Hex, M8 x 1.25 x 20mm, Cl 8.8

8шт.

7

9804262

BOLT,M10 x 39.2mm, Cl 8.8

1шт.

8

9804276

FLANGE NUT,Hex, M6 x 1, Cl 8

4шт.

9

9804278

FLANGE NUT,M10 x 1.5, Cl 8

1шт.

10

9847468

BOLT,Hex, M16 x 2 x 70mm, Cl 10.9

1шт.

11

47383241

FOAM INSULATION,Bulk, 30480mm L

Cut to Length, 600mm L

1шт.

12

47652819

ROD

Rear Door Latch

1шт.

13

47668037

SEAL,600mm L

Bulb

1шт.

14

47683215

ANGLE

RH, Door Seal

1шт.

15

47683226

ANGLE

LH, Door Seal

1шт.

16

47685711

BUSHING,16.5mm ID x 23.5mm OD x 22.7mm L

1шт.

17

47744761

WEAR PLATE

Rear Door

1шт.

18

47744790

SUPPORT

Rear Door

1шт.

19

47748047

DOOR

Rear, Gray

1шт.

20

47809164

DOOR

Lock Arm

1шт.

21

84163981

FLANGE BOLT,Hex, M6 x 20.56mm

6шт.

22

84200915

CAPPING

Rear Door

1шт.

23

84355007

ANGLE

Light Mounting

2шт.

24

84602176

SEAL

Bulb, Cut to Length, 1250mm L

1шт.

25

86619800

FLANGE NUT,M6 x 1, Cl 8

1шт.

26

86624182

WASHER,6.6mm ID x 18mm OD x 1.6mm Thk

4шт.

27

86625253

WASHER,11mm ID x 24mm OD x 2mm Thk

1шт.

28

86625260

WASHER,21.8mm ID x 37.5mm OD x 4mm Thk

1шт.

29

86639323

WASHER,17.5mm ID x 30mm OD x 4mm Thk

2шт.

30

87016581

FLANGE NUT,M16 x 2, CI 10

1шт.

31

87352559

SPACER,13.10mm ID x 15.90mm OD x 6.4mm L

Door Lock

1шт.

32

87437076

LATCH

Door

1шт.

33

380751A1

NUT

Push Cap, 6mm

1шт.

Выбрано товаров: 33