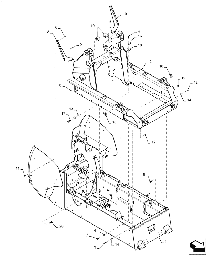
Запчасти Case TV380 (39.100.AB[01]) - CHASSIS (TV380) (39) - FRAMES AND BALLASTING

Схема запчастей Case TV380 - (39.100.AB[01]) - CHASSIS (TV380) (39) - FRAMES AND BALLASTING
18
15
2
14
14
6
12
16
11
6
3
10
14
4
17
20
8
18
19
9
12
12
1
13
5
7
FIT
1:1
100%

Артикул

Название

Примечание

Количество

1

NS

NOT SERVICED

Lower Frame, Gray

1шт.

2

47460809

FRAME

Upper, Vertical, Gray

1шт.

3

337476

BOLT,Hex, M12 x 1.75 x 50mm, Cl 10.9

1шт.

4

374835

BOLT,Hex, M16 x 2 x 40mm, Cl 10.9, Full Thd

4шт.

5

9671714

FLANGE BOLT,Hex, M8 x 1.25 x 25mm, Cl 8.8

4шт.

6

9804277

FLANGE NUT,Hex, M8 x 1.25, Cl 8

8шт.

7

9824642

BOLT,M12 x 1.75 x 42.68mm, Cl 10.9

8шт.

8

47360549

SUPPORT

Wrapper, LH

1шт.

9

47360551

SUPPORT

Wrapper, RH

10шт.

10

84298254

PLATE

Rear Mount

4шт.

11

86507486

CARRIAGE BOLT,M8 x 1.25 x 20mm, Cl 8.8

4шт.

12

86512497

FLANGE NUT,M12 x 1.75, Cl 10

10шт.

13

86592702

WASHER,17mm ID x 45mm OD x 6mm Thk

16шт.

14

86625256

WASHER,13.3mm ID x 28.5mm OD x 4mm Thk

10шт.

15

87035385

CARRIAGE BOLT,Sht Sq Nk, M12 x 35mm, Cl 8.8, Full Thd

1шт.

16

87687021

WASHER,17.3mm ID x 70mm OD x 4.5mm Thk

4шт.

17

87698849

BOLT,M16 x 50mm, Cl 10.9

8шт.

18

86521978

HUB,38.23mm ID x 69.85mm OD x 12.7mm L

Upper Frame to Boom Lift Cylinder

2шт.

19

84201518

HUB,38.5mm ID x 69.85mm OD x 48.5mm L

Upper Boom to H-Link

2шт.

20

84162937

STUD,M16 x 50mm, Cl 9.8

Axle Mount

16шт.

Выбрано товаров: 20