Запчасти Case TV380 (82.100.06) - BUCKET CUTTING EDGE (ALL CASE) (82) - FRONT LOADER & BUCKET

Схема запчастей Case TV380 - (82.100.06) - BUCKET CUTTING EDGE (ALL CASE) (82) - FRONT LOADER & BUCKET
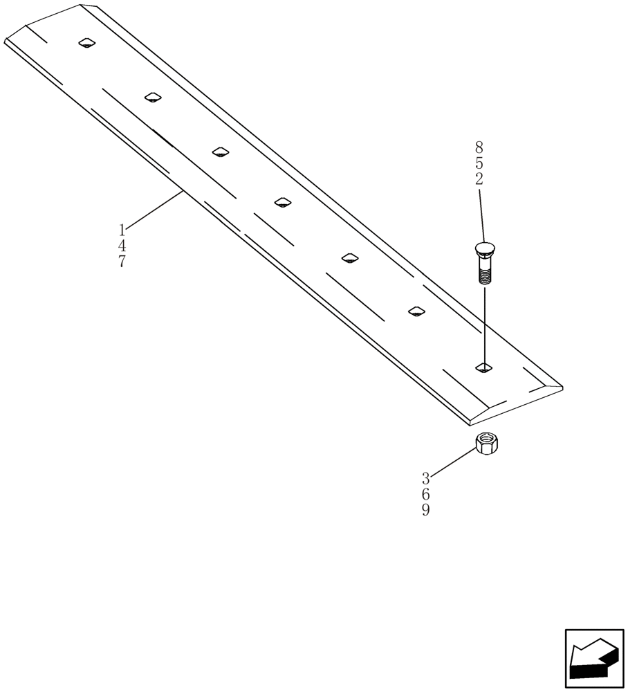
6
9
2
7
5
8
3
1
4
FIT
1:1
100%

Артикул

Название

Примечание

Количество

430499A1

EDGE, CUTTING

Kit; 72 Inch; Incl. Ref 7 - 9; Order Components

1шт.

7

87454488

CUTTING EDGE,Bolt On, Double Edged, 7 Hole, 203.2mm W x 1825.6mm L

1829 mm (72 inch); Power Tan

1шт.

7

86577169

CUTTING EDGE,Bolt On, Double Edged, 7 Hole, 203.2mm W x 1825.6mm L

1829 mm (72 inch); Gray

1шт.

8

86548338

PLOW BOLT,#3, 5/8" - 11 x 2", Gr 5

7шт.

9

425-1010

NUT,5/8"-11, G5

7шт.

434817A1

EDGE, CUTTING

Kit; 78 Inch; Incl. Ref 7 - 9; Order Components

1шт.

7

86577171

CUTTING EDGE,78", Gray

1981 mm (78 inch); Gray

1шт.

8

86548338

PLOW BOLT,#3, 5/8" - 11 x 2", Gr 5

9шт.

9

425-1010

NUT,5/8"-11, G5

9шт.

430500A1

EDGE, CUTTING

Kit; 84 Inch; Incl. Ref 7 - 9; Order Components

1шт.

7

86577173

CUTTING EDGE,Bolt On, 9 Hole, 203.2mm W x 2168.5mm L

2134 mm (84 inch); Gray

1шт.

8

86548338

PLOW BOLT,#3, 5/8" - 11 x 2", Gr 5

9шт.

9

280374

NUT,Hex, 5/8" - 11, Gr 5

9шт.

Выбрано товаров: 13