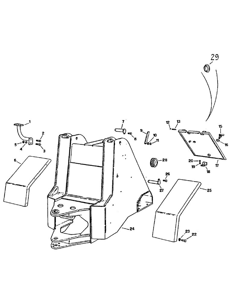
Запчасти Case 221B (9-07A) - FRONT FRAME, 121B (DAH1216218-) / 221B (DAH2215929-) (09) - CHASSIS/ATTACHMENTS

Схема запчастей Case 221B - (9-07A) - FRONT FRAME, 121B (DAH1216218-) / 221B (DAH2215929-) (09) - CHASSIS/ATTACHMENTS
7
20
1
23
17
22
19
29
26
9
28
13
27
2
11
8
25
15
16
5
6
10
4
3
18
12
24
FIT
1:1
100%

Артикул

Название

Примечание

Количество

1

215765A1

SUPPORT

2шт.

2

215040A1

SCREW,Hex, M10 x 20mm

2шт.

3

215114A1

SCREW

2шт.

4

215160A1

WASHER

2шт.

5

215179A1

NUT

2шт.

6

219554A1

MUD DEFLECTOR

1шт.

7

215052A1

PIN

1шт.

8

215040A1

SCREW,Hex, M10 x 20mm

1шт.

9

215767A1

LEVER

1шт.

10

215160A1

WASHER

1шт.

11

215053A1

NUT

1шт.

12

215768A1

RING, SNAP

RING SNAP

4шт.

13

215769A1

PIN

2шт.

15

215770A1

LATCH

1шт.

16

215771A1

WASHER

1шт.

17

215772A1

DOOR

1шт.

18

215773A1

SUPPORT

1шт.

19

215774A1

WASHER

2шт.

20

215775A1

SCREW

2шт.

22

215156A1

SCREW

8шт.

23

215776A1

WASHER

8шт.

24

215777A1

FRAME ASSY

1шт.

24

219556A1

FRAME ASSY

1шт.

25

219555A1

MUD DEFLECTOR

1шт.

26

215040A1

SCREW,Hex, M10 x 20mm

2шт.

27

215779A1

PIN

2шт.

28

215780A1

GROMMET

JOINT ball

2шт.

29

218798A1

PLASTIC PLUG

COVER

2шт.

Выбрано товаров: 28