Запчасти Case 221B (8-41A) - HIGH PRESSURE PUMP - SELECTOR BLOCK, 121B DAH1216844- / 221B DAH2216859- (08) - HYDRAULICS

Схема запчастей Case 221B - (8-41A) - HIGH PRESSURE PUMP - SELECTOR BLOCK, 121B DAH1216844- / 221B DAH2216859- (08) - HYDRAULICS
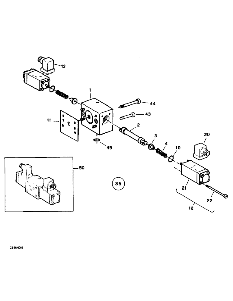
4
13
1
44
2
3
21
43
50
11
10
22
35
45
20
12
FIT
1:1
100%

Артикул

Название

Примечание

Количество

1

219697A1

BASIC BLOCK

BODY

1шт.

2

216041A1

PISTON

1шт.

3

216042A1

SPACER

SEAT spring

2шт.

4

216043A1

SPRING

2шт.

10

215434A1

O-RING

2шт.

11

219698A1

GASKET

1шт.

12

219160A1

SOLENOID VALVE

ASSY.

2шт.

13

215966A1

MAKING-UP

CONNECTOR

1шт.

20

216044A1

MAKING-UP

CONNECTOR

1шт.

21

215960A1

SOLENOID

1шт.

22

215964A1

SCREW

4шт.

35

219699A1

SOLENOID VALVE

1шт.

43

216045A1

SCREW

3шт.

44

219700A1

SCREW

2шт.

45

216047A1

O-RING

1шт.

50

219659A1

SOLENOID VALVE

1шт.

Выбрано товаров: 16