Запчасти Case 21D (64.208[2988989000]) - LOADING BUCKET 800L-1900MM (82) - FRONT LOADER & BUCKET

Схема запчастей Case 21D - (64.208[2988989000]) - LOADING BUCKET 800L-1900MM (82) - FRONT LOADER & BUCKET
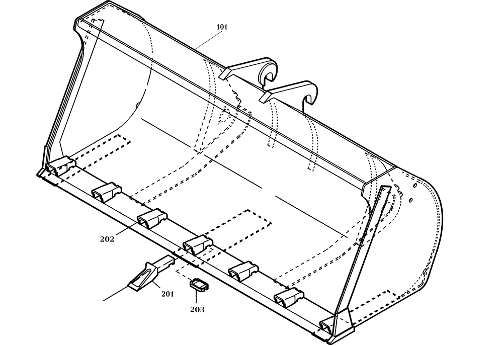
201
202
101
203
FIT
1:1
100%

Артикул

Название

Примечание

Количество

1

2438690

BUCKET

Incl. 101-230

1шт.

101

2438690

BUCKET

See Fig 64.212

1шт.

102

2438867

BUCKET TOOTH

Replaces 421295A1

1шт.

201

552414

BUCKET TOOTH

Replaces 421296A1

6шт.

202

108621

BUCKET TOOTH SHANK

Replaces 421297A1

6шт.

203

2975610

BUCKET TOOTH KEY

Replaces 421298A1

6шт.

Выбрано товаров: 6