Качественные детали и логистика
Оригинальные и аналоговые запчасти с доставкой по России, Казахстану и Беларуси
©2022 PartSell ООО "Система" ИНН 2463123282 ОГРН 1212400004838
Центральный офис: г. Красноярск, Академика Киренского, д.87, пом.4
Телефон: 8 (800) 777-65-74 Email: zakaz@partsell.ru
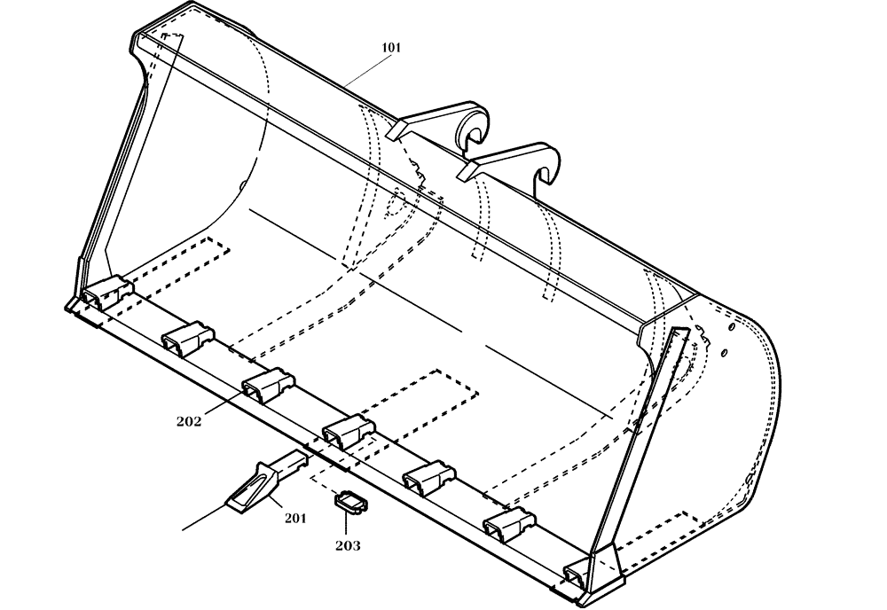
(64.210[2988995000]) - LOADING BUCKET 700L-1900MM
№
Артикул
Название
Примечание
Количество
1
2438601
BUCKET
1шт.
101
Loading Bucket 700L-1900MM (4552550) See Fig 64.202
102
2438867
BUCKET TOOTH
Replaces 421295A1
201
552414
Replaces 421296A1
6шт.
202
108621
BUCKET TOOTH SHANK
Replaces 421297A1
203
2975610
BUCKET TOOTH KEY
Replaces 421298A1
Выбрано товаров: 0