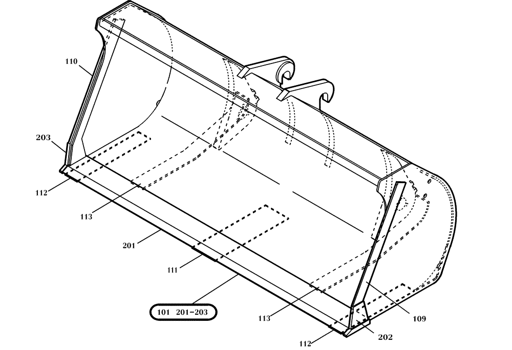
Запчасти Case 21D (64.212[2902715000]) - LOADING BUCKET 800 L-1900MM (82) - FRONT LOADER & BUCKET

Схема запчастей Case 21D - (64.212[2902715000]) - LOADING BUCKET 800 L-1900MM (82) - FRONT LOADER & BUCKET
112
111
101 201-203
113
110
203
112
109
113
202
201
FIT
1:1
100%

Артикул

Название

Примечание

Количество

1

2438690

BUCKET

1шт.

101

1527756

CUTTING EDGE

1шт.

109

2438509

REINFORCEMENT

54 x 625mm

1шт.

110

2438510

REINFORCEMENT

54 x 625mm

1шт.

111

2438700

Support

1шт.

112

2438701

SUPPORT

80 x 475mm

2шт.

113

2438702

SUPPORT

140 x 475mm

2шт.

201

994119

CUTTING EDGE

1шт.

202

1551181

CUTTING EDGE

1шт.

203

1551182

CUTTING EDGE

1шт.

Выбрано товаров: 10