Запчасти Case 21D (13.230[2987245001]) - AIR INTAKE PARTS (10) - ENGINE

Схема запчастей Case 21D - (13.230[2987245001]) - AIR INTAKE PARTS (10) - ENGINE
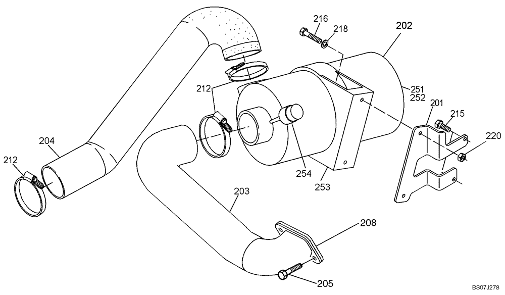
202
203
251
212
218
205
208
252
201
204
215
220
253
212
216
FIT
1:1
100%

Артикул

Название

Примечание

Количество

201

4552049

BRACKET

1шт.

202

BER4552009

AIR CLEANER

Air Cleaner Housing, Incl. 251-254, Filter

1шт.

203

6551514

AIR INTAKE TUBE,316 mm Length

Replaces 4552108

1шт.

204

2772622

INTAKE AIR HOSE

1шт.

205

57013

BOLT,Hex, M8 x 20mm, Cl 8.8

2шт.

208

1471715

GASKET

Replaces 4552156

1шт.

212

900537

HOSE CLAMP

Replaces 3219245R1

3шт.

215

54405

BOLT,Hex, M8 x 25, 8.8

Replaces 614-8025

2шт.

216

BER55084

SCREW

M8 x 40, 8.8, Replaces 814-8040

2шт.

218

62543

WASHER

Replaces 420222A1

2шт.

220

832-10408

NUT,M8 x 1.25, Cl 8.8

2шт.

251

2479829

AIR CLEANER

Incl 251A,251B, Replaces 420538A1

1шт.

251a

47135972

ELEMENT

Outer primary

1шт.

251b

47135975

ELEMENT

Inner secondary

1шт.

252

2479832

HOUSING

Inner tube for the inner filter, Replaces 420543A1

1шт.

253

1477483

SUPPORT

Replaces 420545A1

1шт.

254

1709750

INDICATOR

Replaces 420551A1

1шт.

Выбрано товаров: 17