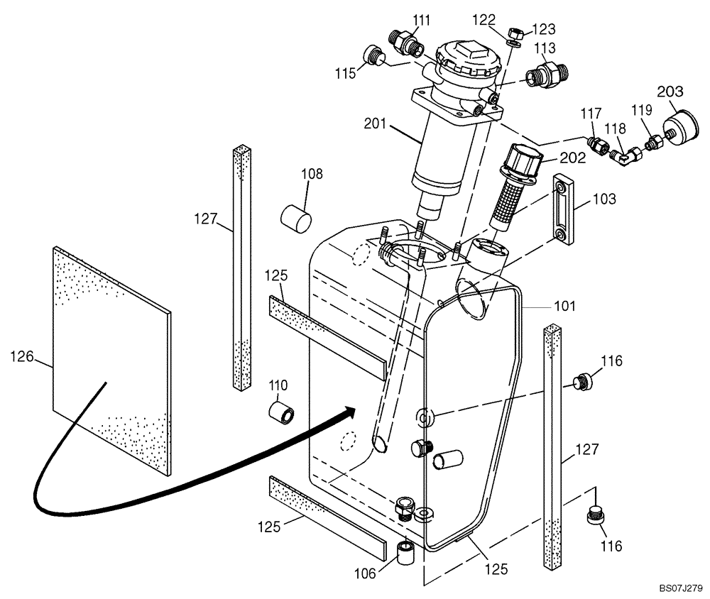
Запчасти Case 21D (10.102[2988029000]) - HYDRAULIC TANK & OIL FILTER (35) - HYDRAULIC SYSTEMS

Схема запчастей Case 21D - (10.102[2988029000]) - HYDRAULIC TANK & OIL FILTER (35) - HYDRAULIC SYSTEMS
203
103
115
202
127
125
125
101
201
113
108
116
122
117
119
12
123
111
127
106
6
116
125
118
FIT
1:1
100%

Артикул

Название

Примечание

Количество

101

4552326

RESERVOIR, HYDRAULIC

Hyd. Oil, See Fig 10.103

1шт.

103

1768179

INDICATOR

1шт.

106

8511320

COVER

1шт.

108

8511318

COVER

1шт.

110

8511319

COVER

1шт.

111

1331028

HYD CONNECTOR

SOCKET DIN 3901-L 28 E-G1-ST

1шт.

112

8511318

COVER

1шт.

113

1768309

HYD CONNECTOR

SOCKET DIN 3901-L 35 E-G1 1/4-ST

1шт.

114

8442334

COVER

1шт.

115

8436295

PLUG

Screw

1шт.

116

1009480

PLUG,Hex, M18 x 1.5

Screw

2шт.

117

2247238

HYD CONNECTOR

SOCKET/ADAPTER EGE 6- LR-ED

1шт.

118

7723977

ELBOW

SOCKET EW 6-L/OMD

1шт.

119

8474857

ADAPTER

SCREWING XGAI 6-L/R

1шт.

122

2981701

WASHER,10.5mm ID x 20mm OD x 2mm Thk

4шт.

123

100016

NUT,M10 x 1.5, Cl 8

4шт.

125

2142733

SEALING STRIP

5 x 50 x 350 mm

3шт.

126

4571392

FOAM INSULATION

10 x 350 x 440 mm

1шт.

127

2813380

FOAM INSULATION

40 x 60 x 644 mm

2шт.

200

4550180

Filter Assy, Incl. 201-203

1шт.

201

6559570

FILTER ASSY

See Fig 22.220

1шт.

202

2930161

FILTER ASSY

1шт.

203

6559569

INDICATOR

Replaces 1490619

1шт.

Выбрано товаров: 23