Качественные детали и логистика
Оригинальные и аналоговые запчасти с доставкой по России, Казахстану и Беларуси
©2022 PartSell ООО "Система" ИНН 2463123282 ОГРН 1212400004838
Центральный офис: г. Красноярск, Академика Киренского, д.87, пом.4
Телефон: 8 (800) 777-65-74 Email: zakaz@partsell.ru
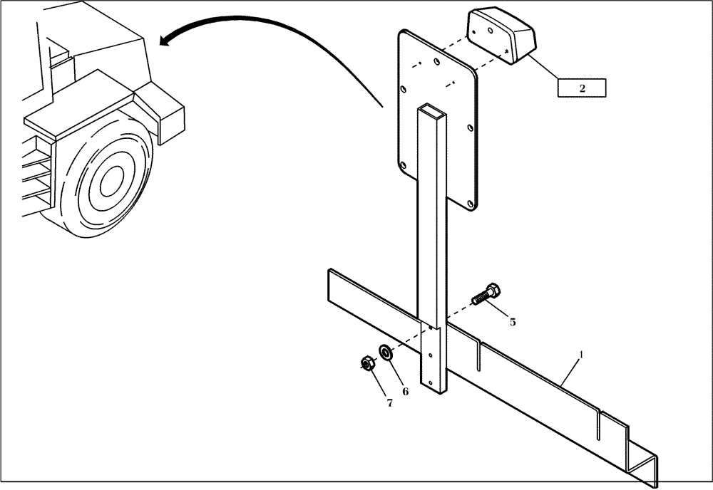
(32.240[001]) - LIC.PLATE LIGHT INSTALLATION (OPTION) (S/N 561101-UP)
№
Артикул
Название
Примечание
Количество
1
421553A1
HOLDER
1шт.
2
NS
NOT SERVICED
SEE FIGURE 32.242/001
5
614-8020
BOLT,Hex, M8 x 1.25 x 20mm
2шт.
6
895-15008
WASHER,9mm ID x 20mm OD x 1.6mm Thk
7
832-10408
NUT,M8 x 1.25, Cl 8.8
Выбрано товаров: 0